Anlage 3b
(§ 19a)
Prüfung und Anbringung der Lenkersitze von Zugmaschinen und Motorkarren
I. Prüfung der Beschaffenheit und der Wirkung des Lenkersitzes
Lenkersitze sind an einem Fahrzeug der Type, für die sie bestimmt sind, zu prüfen. Das Fahrzeug darf bei dieser Prüfung nicht mit Rad- und Rahmengewichten oder mit Flüssigkeit in den Reifen versehen sein. Das Fahrzeug muß mit Reifen versehen sein, deren Verwendung bei Fahrzeugen dieser Type am häufigsten zu erwarten ist; die Profiltiefe der Reifen muß wenigstens 65 v. H. der Profiltiefe der ungebrauchten Reifen betragen. Die Reifenwände dürfen nicht außergewöhnlich abgenützt sein. Die Reifendrücke müssen innerhalb der vom Reifenerzeuger empfohlenen Grenze liegen.
- 1. Ausformung des Sitzes und der Polsterung:
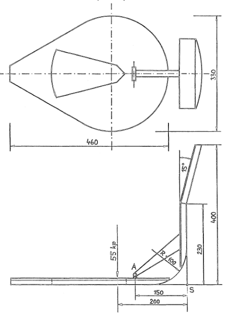
- Hiefür ist eine Prüfeinrichtung gemäß Z II Abbildungen 1 und 2 zu verwenden. Diese ist auf den Sitz zu legen und mit 550 N in einem Abstand von 5 cm vor dem Gelenk A zu belasten, wobei der Rückenteil leicht gegen die Lehne des Sitzes gedrückt werden muß. Der in der Z II Abbildungen 1 und 2 eingezeichnete Punkt S dient als Sitzbezugspunkt. Der Sitzbezugspunkt S ist der Punkt in der Längsmittelebene des Sitzes, in dem sich eine zur Längsmittelebene senkrechte Tangentialebene an die Beckenstütze mit der Horizontalebene schneidet, die die Sitzoberfläche 15 cm vor der angeführten Tangentialebene schneidet (Z. II Abbildung 2). Im Sinne der Bestimmungen des § 19a ist zu messen als
- a) Sitzfläche:
- aa) Tiefe: der horizontale Abstand zwischen dem Vorderrand der Sitzfläche und dem Sitzbezugspunkt S 15 cm neben der Längsmittelebene des Sitzes;
- bb) Breite: der horizontale Abstand zweier Punkte 15 cm vor dem Sitzbezugspunkt S einmal in der Ebene der Polsterung und einmal 8 cm über dem Sitzbezugspunkt S;
- cc) Neigung: der Winkel zwischen dem Sitzflächenbrett der Prüfvorrichtung (Z. II Abbildungen 1 und 2) und der Horizontalen;
- b) seitliche Abstützung:
- der horizontale Abstand zwischen dem vordersten Punkt der Abstützung und dem Sitzbezugspunkt S;
- c) Höhe des oberen Randes der Beckenabstützung:
- der vertikale Abstand zwischen dem oberen Rand der Abstützung (Maß k gemäß Z II Abbildung 2) und dem Sitzbezugspunkt S.
- 2. Schwingungstechnische Eigenschaften von Sitzen mit Federungsvorrichtung:
- a) Sitzfederkennlinien und Gewichtseinstellbereich:
- Die Sitzfederkennlinien sind in den beiden extremen Einstellmöglichkeiten (maximale und minimale Vorspannung) in der Weise aufzunehmen, daß der Sitz von 100 N zu 10 kp zunächst belastet und dann ebenso entlastet wird. Es ist die statische Einsenkung jenes Sitzpunktes heranzuziehen, der 20 cm vor dem Sitzbezugspunkt S in der Längsmittelebene des Sitzes liegt. An dieser Stelle ist auch der freie vertikale Schwingweg zu messen. Aus den Sitzfederkennlinien ist der Gewichtseinstellbereich zu ermitteln (Z. II Abbildung 4).
- b) Horizontaler Schwingweg:
- Das Wegbild des Punktes der Sitzfläche, bei dem die größte horizontale Beweglichkeit zu erwarten ist, ist über dem freien Schwingweg aufzunehmen und der horizontale Weg zu messen.
- c) Begrenzung des Schwingweges:
- Diese ist durch praktische Erprobung festzustellen.
- d) Federungs- und Dämpfungseigenschaften:
- Zur Messung der vertikalen Beschleunigung ist am Sitz ein Beschleunigungsaufnehmer auf einer ebenen, starren Platte mit 30 cm Durchmesser zu befestigen. Die Platte ist in die Mitte der Sitzschale zwischen Sitz und Lenker zu legen. Sie ist an ihrer Oberseite mit einem ungefähr 2 cm dicken, elastischen Material zu polstern.
- aa) Eine mit dem Sitz versehene Zugmaschine ist zu fahren über eine 100 m lange Bahn gemäß Z II Tabelle 2 mit 15 km/h
0,5 km/h, bei Auftreten einer Resonanzspitze mit geeigneter höherer Geschwindigkeit, und eine 35 m lange Bahn gemäß Z II Tabelle 3 mit 5 km/h
0,15 km/h, bei Auftreten einer Resonanzspitze mit geeigneter höherer Geschwindigkeit;
- bb) ein mit dem Sitz versehener Motorkarren ist zu fahren über eine 100 m lange Bahn gemäß Z II Tabelle 2 mit 10 km/h
0,3 km/h, bei Auftreten einer Resonanzspitze mit geeigneter höherer Geschwindigkeit, und eine 35 m lange Bahn gemäß Z II Tabelle 3 mit 3,3 km/h
0,1 km/h, bei Auftreten einer Resonanzspitze mit geeigneter höherer Geschwindigkeit.
- Alle Messungen auf den Bahnen sind mit zwei Lenkern durchzuführen. Einer muß 60 kg Gesamtgewicht haben, wobei nicht mehr als 5 kg von Gewichten stammen dürfen, die in Form eines Gürtels um die Taille des Lenkers angebracht werden. Der andere muß 95 kg mit nicht mehr als 8 kg Zusatzgewicht haben. Jeder Versuch ist einmal zu wiederholen. Die Mittelwerte der Beschleunigung (lit. e) von zwei zusammengehörigen Messungen dürfen um nicht mehr als 5 v. H. voneinander abweichen. Sind größere Unterschiede vorhanden, so sind weitere Messungen durchzuführen.
- e) Bestimmungen des Mittelwertes der vertikalen Beschleunigung (§ 19a Abs. 1):
- Hiefür ist eine der folgenden Methoden anzuwenden:
- aa) Während einer jeden Prüffahrt oder der Wiedergabe der Magnetbandaufzeichnung der bei der Prüffahrt gewonnenen Beschleunigungswerte muß das Beschleunigungssignal einem Schwingungsmesser zugeführt werden, der die Quadratwurzel aus dem Integral des Quadrats der gewichteten Beschleunigungen über die Dauer der Prüffahrt bestimmt. Die Beschleunigungen müssen in diesem Gerät mit Hilfe eines Frequenzbewertungsfilters mit einer Filtercharakteristik gemäß Z II Abbildung 5 gewichtet werden.
- bb) Jede Schwingungsaufzeichnung ist über den Frequenzbereich von 1 bis 80 Hz in ⅓-Oktav-Beschleunigungswerte zu zerlegen, wobei die ⅓-Oktav-Mittenfrequenzen der Empfehlung der International Organization for Standardization ISO/R 266-1962 (E) *) entsprechen müssen und der quadratische Mittelwert jeder Komponente b tief f über den Prüflauf integriert wird. Jeder der ⅓-Oktav-Werte muß mit den Bewertungsfaktoren w tief f gemäß Z II Tabelle 1 multipliziert und ein gewichteter Beschleunigungswert b tief w nach der Formel
- für jede Aufzeichnung durch Summieren der gewichteten ⅓-Oktav-Werte berechnet werden.
- 3. Dauerfestigkeit:
- Die Prüfung ist auf dem Prüfstand (Z. II Abbildung 3) vorzunehmen. Der auf ein Lenkergewicht von 100 kg eingestellte Sitz ist in der Längsmittelebene 20 cm vor dem Sitzbezugspunkt mit einer Frequenz von 2 Hz von der Mitte des freien Schwingweges ausgehend 30 mm nach oben und 30 mm nach unten zu erregen. Der Stoßdämpfer ist erforderlichenfalls zu kühlen. Dieser Zyklus ist viermal zu durchfahren. Sodann ist der Sitz weitere 22 Stunden in gerader Stellung zu beaufschlagen.
- 4. Sitzaufbau:
- Zur Ermittlung der Maße gemäß Z III ist der Sitzbezugspunkt S zu verwenden.
_______________
- *) Erhältlich beim Österreichischen Normungsinstitut, Leopoldsgasse 4, A-1021 Wien, Fernsprecher (0222) 33 55 19, Fernschreiber 7/5960
II. Abbildungen und Tabellen:
Abbildung 1
Prüfeinrichtung
(Maße in mm)
Abbildung 2
Prüfeinrichtung auf einem Sitz
(Maße in mm)
Abbildung 3
Prüfstand
Abbildung 4
Sitzfederkennlinien und Gewichtseinstellbereich
Abbildung 5
Charakteristik des Frequenzbewertungsfilters für das Schwingungsmeßgerät
Tabelle 1 | |||
Schwingungs-Bewertungsfaktoren | |||
⅓-Oktav-Mittenfrequenz f | Bewertungsfaktor w | ⅓-Oktav-Mittenfrequenz f | Bewertungsfaktor wf |
1.0 | 0.5 | 10.0 | 0.80 |
1.25 | 0.56 | 12.5 | 0.63 |
1.6 | 0.63 | 16.0 | 0.50 |
2.0 | 0.71 | 20.0 | 0.40 |
2.5 | 0.80 | 25.0 | 0.315 |
3.15 | 0.89 | 31.5 | 0.25 |
4.0 | 1.00 | 40.0 | 0.20 |
5.0 | 1.00 | 50.0 | 0.16 |
6.3 | 1.00 | 63.0 | 0.125 |
8.0 | 1.00 | 80.0 | 0.10 |
Tabelle 2 | |||||||||||
Ordinaten der Bahnunebenheiten bezüglich einer willkürlichen Basislinie, Bahn A | |||||||||||
(mit geringen Unebenheiten). | |||||||||||
D = Entfernung vom Bahnbeginn in Metern | |||||||||||
L = Ordinaten des linken Bahnstreifens in cm | |||||||||||
R = Ordinaten des rechten Bahnstreifens in cm | |||||||||||
D | L | R | D | L | R | D | L | R | D | L | R |
|
|
|
|
|
|
|
|
|
|
|
|
0.00 | 11.5 | 14.0 | 4.00 | 9.0 | 11.0 | 8.00 | 11.5 | 10.0 | 12.00 | 9.5 | 8.5 |
0.16 | 11.0 | 12.5 | 4.16 | 9.0 | 9.5 | 8.16 | 12.5 | 11.0 | 12.16 | 10.0 | 9.5 |
0.32 | 11.0 | 14.0 | 4.32 | 9.5 | 10.0 | 8.32 | 11.0 | 10.0 | 12.32 | 10.0 | 9.0 |
0.48 | 11.5 | 13.5 | 4.48 | 10.0 | 10.0 | 8.48 | 11.0 | 10.0 | 12.48 | 9.5 | 8.5 |
0.64 | 12.0 | 13.5 | 4.64 | 10.0 | 9.0 | 8.64 | 11.0 | 9.5 | 12.64 | 9.5 | 8.5 |
|
|
|
|
|
|
|
|
|
|
|
|
0.80 | 12.0 | 12.5 | 4.90 | 9.0 | 9.0 | 8.80 | 11.0 | 9.5 | 12.80 | 9.5 | 9.0 |
0.96 | 12.5 | 13.5 | 4.96 | 9.0 | 9.0 | 8.96 | 11.0 | 9.5 | 12.96 | 8.5 | 9.0 |
1.12 | 12.0 | 12.5 | 5.12 | 9.5 | 9.0 | 9.12 | 11.0 | 10.0 | 13.12 | 8.5 | 8.5 |
1.28 | 12.0 | 11.5 | 5.28 | 9.5 | 7.0 | 9.28 | 12.5 | 9.0 | 13.28 | 7.5 | 9.0 |
1.44 | 11.5 | 11.0 | 5.44 | 9.5 | 6.5 | 9.44 | 12.0 | 10.0 | 13.44 | 7.5 | 9.5 |
|
|
|
|
|
|
|
|
|
|
|
|
1.60 | 11.0 | 10.0 | 5.60 | 9.0 | 5.0 | 9.60 | 13.5 | 9.5 | 13.60 | 7.5 | 9.0 |
1.76 | 11.0 | 11.0 | 5.76 | 9.5 | 5.0 | 9.76 | 12.0 | 9.5 | 13.76 | 7.0 | 7.5 |
1.92 | 11.0 | 11.0 | 5.92 | 8.5 | 5.0 | 9.92 | 12.0 | 9.5 | 13.92 | 7.0 | 9.0 |
2.08 | 11.5 | 11.5 | 6.08 | 8.5 | 5.5 | 10.08 | 12.0 | 9.5 | 14.08 | 7.0 | 10.0 |
2.24 | 11.0 | 11.0 | 6.24 | 7.5 | 5.5 | 10.24 | 11.5 | 8.5 | 14.24 | 7.0 | 11.0 |
|
|
|
|
|
|
|
|
|
|
|
|
2.40 | 10.0 | 11.0 | 6.40 | 7.5 | 5.5 | 10.40 | 11.5 | 9.0 | 14.40 | 6.5 | 9.5 |
2.56 | 10.0 | 10.0 | 6.56 | 7.0 | 6.5 | 10.56 | 11.5 | 8.5 | 14.56 | 6.5 | 10.0 |
2.72 | 9.5 | 11.0 | 6.72 | 7.5 | 7.5 | 10.72 | 11.5 | 9.0 | 14.72 | 6.5 | 9.0 |
2.88 | 9.5 | 9.5 | 6.88 | 6.5 | 7.5 | 10.88 | 12.0 | 9.0 | 14.88 | 6.5 | 9.0 |
3.04 | 9.0 | 9.5 | 7.04 | 6.5 | 8.5 | 11.04 | 11.0 | 7.5 | 15.04 | 6.5 | 8.5 |
|
|
|
|
|
|
|
|
|
|
|
|
3.20 | 9.0 | 10.0 | 7.20 | 6.5 | 9.0 | 11.20 | 11.0 | 7.5 | 15.20 | 5.5 | 8.5 |
3.36 | 8.5 | 10.0 | 7.36 | 7.5 | 9.5 | 11.36 | 10.0 | 8.5 | 15.36 | 6.5 | 8.5 |
3.52 | 9.0 | 10.0 | 7.52 | 7.5 | 10.0 | 11.52 | 11.0 | 8.5 | 15.52 | 6.5 | 8.5 |
3.68 | 9.0 | 11.5 | 7.68 | 9.5 | 9.5 | 11.68 | 9.5 | 9.0 | 15.68 | 5.5 | 7.5 |
3.84 | 9.5 | 11.0 | 7.84 | 11.5 | 11.0 | 11.84 | 9.5 | 9.0 | 15.84 | 5.5 | 8.5 |
|
|
|
|
|
|
|
|
|
|
|
|
16.00 | 6.5 | 7.5 | 23.20 | 10.0 | 8.5 | 30.40 | 7.5 | 7.5 | 37.60 | 10.0 | 6.5 |
16.16 | 5.5 | 8.5 | 23.36 | 10.0 | 7.5 | 30.56 | 7.0 | 7.5 | 37.76 | 9.0 | 5.5 |
16.32 | 5.0 | 7.5 | 23.52 | 11.0 | 8.5 | 30.72 | 7.5 | 7.5 | 37.92 | 9.5 | 5.5 |
16.48 | 5.5 | 7.5 | 23.68 | 11.0 | 8.5 | 30.88 | 8.5 | 7.5 | 38.08 | 9.0 | 3.5 |
16.64 | 6.5 | 7.5 | 23.84 | 11.0 | 8.5 | 31.04 | 9.0 | 7.5 | 38.24 | 9.0 | 3.5 |
|
|
|
|
|
|
|
|
|
|
|
|
16.80 | 6.5 | 7.5 | 24.00 | 10.0 | 7.5 | 31.20 | 9.0 | 8.5 | 38.40 | 11.0 | 3.5 |
16.96 | 6.5 | 8.5 | 24.16 | 10.0 | 7.5 | 31.36 | 10.0 | 7.5 | 38.56 | 10.0 | 3.5 |
17.12 | 6.5 | 7.0 | 24.32 | 9.5 | 7.0 | 31.52 | 10.0 | 7.5 | 38.72 | 11.5 | 3.5 |
17.28 | 6.5 | 6.5 | 24.48 | 10.0 | 7.0 | 31.68 | 12.0 | 8.5 | 38.88 | 10.0 | 3.5 |
17.44 | 6.5 | 7.5 | 24.64 | 10.0 | 7.0 | 31.84 | 11.5 | 7.5 | 39.04 | 10.0 | 3.5 |
|
|
|
|
|
|
|
|
|
|
|
|
17.60 | 5.5 | 7.5 | 24.80 | 11.5 | 7.5 | 32.00 | 12.0 | 8.5 | 39.20 | 11.0 | 3.0 |
17.76 | 5.0 | 7.5 | 24.96 | 11.0 | 7.5 | 32.16 | 12.0 | 8.5 | 39.36 | 11.0 | 4.5 |
17.92 | 5.5 | 8.5 | 25.12 | 11.0 | 8.5 | 32.32 | 13.5 | 9.0 | 39.52 | 11.0 | 5.0 |
18.08 | 5.5 | 8.5 | 25.28 | 10.0 | 7.5 | 32.48 | 14.5 | 9.5 | 39.68 | 10.0 | 5.5 |
18.24 | 6.5 | 8.5 | 25.44 | 11.0 | 9.5 | 32.64 | 16.0 | 9.5 | 39.84 | 11.0 | 5.0 |
|
|
|
|
|
|
|
|
|
|
|
|
18.40 | 7.0 | 7.5 | 25.60 | 10.0 | 9.5 | 32.80 | 16.5 | 9.0 | 40.00 | 9.0 | 5.5 |
18.56 | 7.5 | 7.5 | 25.76 | 11.5 | 10.0 | 32.96 | 15.5 | 9.0 | 40.16 | 8.5 | 5.5 |
18.72 | 9.5 | 7.5 | 25.92 | 11 5 | 10.0 | 33.12 | 14.5 | 9.0 | 40.32 | 9.0 | 6.5 |
18.88 | 9.0 | 7.5 | 26.08 | 11.0 | 9.5 | 33.28 | 14.0 | 9.5 | 40.48 | 9.0 | 6.5 |
19.04 | 9.0 | 7.0 | 26.24 | 11.5 | 9.5 | 33.44 | 14.0 | 8.5 | 40.64 | 9.0 | 7.0 |
|
|
|
|
|
|
|
|
|
|
|
|
19.20 | 9.5 | 7.0 | 26.40 | 11.0 | 9.5 | 33.60 | 14.0 | 8.5 | 40.80 | 9.5 | 7.5 |
19.36 | 8.5 | 7.0 | 26.56 | 10.0 | 9.5 | 33.76 | 12.5 | 7.5 | 40.96 | 9.5 | 7.5 |
19.52 | 8.5 | 7.5 | 26.72 | 10.0 | 9 5 | 33.92 | 12.5 | 7.5 | 41.12 | 9.5 | 7.5 |
19.68 | 7.5 | 8.5 | 26.88 | 10.0 | 10.0 | 34.08 | 11.5 | 8.5 | 41.28 | 9.0 | 9.0 |
19.84 | 8.5 | 8.5 | 27.04 | 10.0 | 9.5 | 34.24 | 12.0 | 7.5 | 41.44 | 9.0 | 9.5 |
|
|
|
|
|
|
|
|
|
|
|
|
20.00 | 7.5 | 9.0 | 27.20 | 10.0 | 9.5 | 34.40 | 12.5 | 7.5 | 41.60 | 8.5 | 9.5 |
20.16 | 8.5 | 8.5 | 27.36 | 11.0 | 9.0 | 34.56 | 11 5 | 8.5 | 41.76 | 8.5 | 10.0 |
20.32 | 7.5 | 7.0 | 27.52 | 11.5 | 9.0 | 34.72 | 11 5 | 7.5 | 41.92 | 9.0 | 10.0 |
20.48 | 7.0 | 7.5 | 27.68 | 11.5 | 8.5 | 34.88 | 11 5 | 9.0 | 42.08 | 9.0 | 9.5 |
20.64 | 6.5 | 7.5 | 27.84 | 11.0 | 9.0 | 35.04 | 11.5 | 10.0 | 42.24 | 8.5 | 10.0 |
|
|
|
|
|
|
|
|
|
|
|
|
20.80 | 7.0 | 7.5 | 28.00 | 11.0 | 8.5 | 35.20 | 12.0 | 10.0 | 42.40 | 8.5 | 11.0 |
20.96 | 6.5 | 7.5 | 28.16 | 11.0 | 8.5 | 35.36 | 12.0 | 10.0 | 42.56 | 9.5 | 11.0 |
21.12 | 7.0 | 7.5 | 28.32 | 10.0 | 8.5 | 35.52 | 13.5 | 9.0 | 42.72 | 9.5 | 11.5 |
21.28 | 7.0 | 8.5 | 28.48 | 10.0 | 9.0 | 35.68 | 13.5 | 9.5 | 42.88 | 9 5 | 11.5 |
21.44 | 7.0 | 8.5 | 28.64 | 9.0 | 8.5 | 35.84 | 13.5 | 9.5 | 43.04 | 10.0 | 10.0 |
|
|
|
|
|
|
|
|
|
|
|
|
21.60 | 7.0 | 9.0 | 28.80 | 9.0 | 7.5 | 36.00 | 13.5 | 9.0 | 43.20 | 10.0 | 9.5 |
21.76 | 7.5 | 9.5 | 28.96 | 7.5 | 9.0 | 36.16 | 12.0 | 7.5 | 43.36 | 10.0 | 9.5 |
21.92 | 7.5 | 9.5 | 29.12 | 7.5 | 7.5 | 36.32 | 11.5 | 7.5 | 43.52 | 10.0 | 9.0 |
22.08 | 7.5 | 9.0 | 29.28 | 7.5 | 7.5 | 36.48 | 11.0 | 7.0 | 43.68 | 11.0 | 9.5 |
22.24 | 8.5 | 9.0 | 29.44 | 7.0 | 7.5 | 36.64 | 10.0 | 6.5 | 43.84 | 10.0 | 10.0 |
|
|
|
|
|
|
|
|
|
|
|
|
22.40 | 8.5 | 9.5 | 29.60 | 7.5 | 7.5 | 36.80 | 11.0 | 5.5 | 44.00 | 11.0 | 9.0 |
22.56 | 9.0 | 8.5 | 29.76 | 7.5 | 8.5 | 36.96 | 11.5 | 5.5 | 44.16 | 10.0 | 8.5 |
22.72 | 9.0 | 8.5 | 29.92 | 8.5 | 7.5 | 37.12 | 10.0 | 5.0 | 44.32 | 11.0 | 9.0 |
22.88 | 9.5 | 8.5 | 30.08 | 7.5 | 7.5 | 37.28 | 11.5 | 5.0 | 44.48 | 11.0 | 8.5 |
23.04 | 9.5 | 8.5 | 30.24 | 8.5 | 7.5 | 37.44 | 11.0 | 5.0 | 44.64 | 10.0 | 8.5 |
|
|
|
|
|
|
|
|
|
|
|
|
44.80 | 10.0 | 9.0 | 52.00 | 10.0 | 12.0 | 59.20 | 9.0 | 11.5 | 66.40 | 5.5 | 8.5 |
44.96 | 9.5 | 9.0 | 52.16 | 10.0 | 12.5 | 59.36 | 9.0 | 11.5 | 66.56 | 6.5 | 9.0 |
45.12 | 9.0 | 9.5 | 52.32 | 11.0 | 12.5 | 59,52 | 9.0 | 11.5 | 66.72 | 7.0 | 9.0 |
45.28 | 9.0 | 10.0 | 52.48 | 11.0 | 12.5 | 59.68 | 8.5 | 11.0 | 66.88 | 7.0 | 11.0 |
45.44 | 9.5 | 10.0 | 52.64 | 10.0 | 12.5 | 59.84 | 7.5 | 11.0 | 67.04 | 6.5 | 10.0 |
|
|
|
|
|
|
|
|
|
|
|
|
45.60 | 9.0 | 9.0 | 52.80 | 10.0 | 12.0 | 60.00 | 9.0 | 11.5 | 67.20 | 5.5 | 10.0 |
45.76 | 8.5 | 9.0 | 52.96 | 10.0 | 12.0 | 60.16 | 9.0 | 12.0 | 67.36 | 6.5 | 10.0 |
45.92 | 7.5 | 9.0 | 53.12 | 11.0 | 11.5 | 60.32 | 9.0 | 12.0 | 67.52 | 5.0 | 10.0 |
46.08 | 8.5 | 9.0 | 53.28 | 10.0 | 11.0 | 60.48 | 9.0 | 12.0 | 67.68 | 5.0 | 8.5 |
46.24 | 7.5 | 9.0 | 53.44 | 11.0 | 11.0 | 60.64 | 9.5 | 12.0 | 67.84 | 5.0 | 9.0 |
|
|
|
|
|
|
|
|
|
|
|
|
46.40 | 7.5 | 9.0 | 53.60 | 9.5 | 11.0 | 60.80 | 9.5 | 12.0 | 68.00 | 5.0 | 10.0 |
46.54 | 7.5 | 9.0 | 53.76 | 9.5 | 11.0 | 60.96 | 9.0 | 12.0 | 68.16 | 5.5 | 10.0 |
46.72 | 8.5 | 9.0 | 53.92 | 10.0 | 11.0 | 61.12 | 9.0 | 11.5 | 68.32 | 5.5 | 9.5 |
46.88 | 8.5 | 8.5 | 54.08 | 9.5 | 10.0 | 61.28 | 9.5 | 11.0 | 68.48 | 6.5 | 9.0 |
47.04 | 9.0 | 8.5 | 54.24 | 10.0 | 10.0 | 61.44 | 9.5 | 11.0 | 68.64 | 5.0 | 8.5 |
|
|
|
|
|
|
|
|
|
|
|
|
47.20 | 7.5 | 8.5 | 54.40 | 10.0 | 10.0 | 61.60 | 10.0 | 10.0 | 68.80 | 5.0 | 7.0 |
47.36 | 6.5 | 7.5 | 54.56 | 10.0 | 10.0 | 61.76 | 11.0 | 10.0 | 68.96 | 5.0 | 7.0 |
47.52 | 7.0O | 7.0 | 54.72 | 9.5 | 10.0 | 61.92 | 10.0 | 10.0 | 69.12 | 5.0 | 6.5 |
47.68 | 7.0 | 7.5 | 54.88 | 10.0 | 10.0 | 62.08 | 10.0 | 10.0 | 69.28 | 5.0 | 5.5 |
47.84 | 7.0 | 7.5 | 55.04 | 10.0 | 11.5 | 62.24 | 9.5 | 10.0 | 69.44 | 4.5 | 5.0 |
|
|
|
|
|
|
|
|
|
|
|
|
48.00 | 7.5 | 8.5 | 55.20 | 11.0 | 11.5 | 62.40 | 9.5 | 10.0 | 69.60 | 3.5 | 5.0 |
48.16 | 9.0 | 9.5 | 55.36 | 10.0 | 11.0 | 62.56 | 9.5 | 10.0 | 69.76 | 3.5 | 5.5 |
48.32 | 9.5 | 9.5 | 55.52 | 11.0 | 10.0 | 62.72 | 9.0 | 10.0 | 69.92 | 3.5 | 6.5 |
48.48 | 10.0 | 12.0 | 55.68 | 10.0 | 11.0 | 62.88 | 9.0 | 10.0 | 70.08 | 3.5 | 6.5 |
48.64 | 11.0 | 10.0 | 55.84 | 10.0 | 11.0 | 63.04 | 9.0 | 10.0 | 70.24 | 3.5 | 6.5 |
|
|
|
|
|
|
|
|
|
|
|
|
48.80 | 11.5 | 10.0 | 56.00 | 10.0 | 11.0 | 63.20 | 9.0 | 9.0 | 70.40 | 3.5 | 5.5 |
48.96 | 11.5 | 11.5 | 56.16 | 9.5 | 11.5 | 63.36 | 9.0 | 9.0 | 70.56 | 4.5 | 5.5 |
49.12 | 12.0 | 11.5 | 56.32 | 9.0 | 11.0 | 63.52 | 8.5 | 9.0 | 70.72 | 5.0 | 5.5 |
49.28 | 12.0 | 11.0 | 56.48 | 9.5 | 11.0 | 63.68 | 8.5 | 9.0 | 70.88 | 5.0 | 5.0 |
49.44 | 11.5 | 9.5 | 56.64 | 9.5 | 11.0 | 63.84 | 7.5 | 8.5 | 71.04 | 5.0 | 4.5 |
|
|
|
|
|
|
|
|
|
|
|
|
49.60 | 11.5 | 9.0 | 56.80 | 9.0 | 10.0 | 64.00 | 7.5 | 8.5 | 71.20 | 5.0 | 4.5 |
49.76 | 11.5 | 9.0 | 56.96 | 10.0 | 10.0 | 64.16 | 7.5 | 7.5 | 71.36 | 5.0 | 5.0 |
49.92 | 11.0 | 9.5 | 57.12 | 10.0 | 9.5 | 64.32 | 7.5 | 7.5 | 71.52 | 4.5 | 4.5 |
50.08 | 11.0 | 10.0 | 57.28 | 9.5 | 10.0 | 64.48 | TO | 7.5 | 71.68 | 4.5 | 5,5 |
50.24 | 10.0 | 11.0 | 57.44 | 10.0 | 10.0 | 64.64 | 7.0 | 7.0 | 71.84 | 5.5 | 6.5 |
|
|
|
|
|
|
|
|
|
|
|
|
50.40 | 10.0 | 12.0 | 57.60 | 9.5 | 11.5 | 64.80 | 7.0 | 5.5 | 72.00 | 5.5 | 6.5 |
50.56 | 9.5 | 12.0 | 57.76 | 8.5 | 11.0 | 64.96 | 7.0 | 4.5 | 72.16 | 7.0 | 6.5 |
50.72 | 9.5 | 11.5 | 57.92 | 9.0 | 11.5 | 65.12 | 6.5 | 5.5 | 72.32 | 7.0 | 7.5 |
50.88 | 9.5 | 12.0 | 58.08 | 9.0 | 11.0 | 65.28 | 6.5 | 5.5 | 72.48 | 7.5 | 8.5 |
51.04 | 9.5 | 12.0 | 58.24 | 9.0 | 10.0 | 65.44 | 6.5 | 6.5 | 72.64 | 7.5 | 8.5 |
|
|
|
|
|
|
|
|
|
|
|
|
51.20 | 9.0 | 13.5 | 58.40 | 8.5 | 9.5 | 65.60 | 5.5 | 7.0 | 72.80 | 7.5 | 9.0 |
51.36 | 9.5 | 12.5 | 58.56 | 9.0 | 9.5 | 65.76 | 5.5 | 7.5 | 72.96 | 8.5 | 9.5 |
51.52 | 9.5 | 12.0 | 58.72 | 8.5 | 9.0 | 65.92 | 5.5 | 7.5 | 73.12 | 9.0 | 10.0 |
51.68 | 10.0 | 12.0 | 58.88 | 9.0 | 9.0 | 66.08 | 5.5 | 73 | 73.28 | 9.0 | 11.0 |
51.84 | 10.0 | 12.0 | 59.04 | 9.0 | 9.5 | 66.24 | 5.5 | 8.5 | 73.44 | 9.0 | 11.5 |
|
|
|
|
|
|
|
|
|
|
|
|
73.60 | 9.0 | 12.0 | 80.80 | 10.0 | 12.5 | 87.20 | 11.0 | 14.0 | 93.60 | 12.0 | 14.5 |
73.76 | 9.0 | 11.5 | 80.96 | 11.0 | 12.5 | 87.36 | 11.0 | 14.0 | 93.76 | 11.5 | 14.0 |
73.92 | 9.0 | 11.5 | 81.12 | 11.5 | 13.5 | 87.52 | 11.0 | 14.0 | 93.92 | 11.5 | 14.0 |
74.08 | 11.0 | 11.5 | 81.28 | 11.0 | 14.0 | 87.68 | 10.0 | 13.5 | 94.08 | 11.5 | 14.0 |
74.24 | 10.0 | 11.0 | 81.44 | 11.5 | 14.0 | 87.84 | 10.0 | 13.5 | 94.24 | 11.5 | 14.0 |
|
|
|
|
|
|
|
|
|
|
|
|
74.40 | 10.0 | 11.0 | 81.60 | 11.0 | 14.0 | 88.00 | 10.0 | 13.5 | 94.40 | 11.5 | 14.0 |
74.56 | 10.0 | 11.0 | 81.76 | 11.5 | 14.0 | 88.16 | 10.0 | 12.5 | 94.56 | 11.5 | 14.0 |
74.72 | 9.5 | 11.5 | 81.92 | 11.0 | 14.0 | 88.32 | 11.0 | 12.0 | 94.72 | 11.5 | 13.5 |
74.88 | 9.5 | 12.0 | 82.08 | 11.0 | 14.0 | 88.48 | 11.5 | 12.0 | 94.88 | 11.5 | 13.5 |
75.04 | 9.5 | 12.5 | 82.24 | 11.0 | 13.5 | 88.64 | 11.0 | 12.0 | 95.04 | 11.0 | 13.5 |
|
|
|
|
|
|
|
|
|
|
|
|
75.20 | 9.5 | 13.5 | 82.40 | 11.0 | 13.5 | 88.80 | 11.0 | 12.5 | 95.20 | 11.0 | 13.5 |
75.36 | 10.0 | 13.5 | 82.56 | 10.0 | 12.5 | 88.96 | 10.0 | 12.5 | 95.36 | 11.0 | 13.5 |
75.52 | 10.0 | 14.0 | 82.72 | 11.0 | 12.5 | 89.12 | 10.0 | 12.5 | 95.52 | 11.5 | 13.5 |
75.68 | 10.0 | 14.0 | 82.88 | 11.0 | 12.5 | 89.28 | 9.5 | 12.5 | 95.68 | 10.0 | 14.0 |
75.84 | 10.0 | 14.0 | 83.04 | 10.0 | 12.5 | 89.44 | 9.5 | 12.5 | 95.84 | 9.5 | 13.5 |
|
|
|
|
|
|
|
|
|
|
|
|
76.00 | 11.0 | 13.5 | 83.20 | 10.0 | 12.0 | 89.60 | 10.0 | 12.0 | 96.00 | 10.0 | 12.5 |
76.16 | 10.0 | 12.5 | 83.36 | 10.0 | 12.5 | 89.76 | 10.0 | 13.5 | 96.16 | 9.5 | 12.5 |
76.32 | 10.0 | 12.5 | 83.52 | 10.0 | 12.0 | 89.92 | 11.0 | 14.0 | 96.32 | 9.5 | 12.5 |
76.48 | 10.0 | 12.5 | 83.68 | 10.0 | 13.5 | 90.08 | 11.0 | 13.5 | 96.48 | 9.5 | 12.5 |
76.64 | 11.0 | 12.5 | 83.84 | 9.5 | 14.0 | 90.24 | 11.0 | 14.0 | 96.64 | 11.0 | 12.5 |
|
|
|
|
|
|
|
|
|
|
|
|
76.80 | 11.5 | 12.5 | 84.00 | 10.0 | 13.5 | 90.40 | 10.0 | 14.5 | 96.80 | 9.5 | 12.0 |
76.96 | 12.0 | 12.5 | 84.16 | 11.0 | 14.0 | 90.56 | 10.0 | 15.5 | 96.96 | 9.5 | 12.0 |
77.12 | 12.0 | 12.5 | 84.32 | 11.0 | 14.0 | 90.72 | 11.0 | 15.5 | 97.12 | 9.5 | 12.0 |
77.28 | 12.0 | 13.5 | 84.48 | 11.0 | 14.0 | 90.88 | 11.0 | 15.5 | 97.28 | 9.5 | 11.0 |
77.44 | 11.0 | 12.5 | 84.64 | 11.0 | 14.0 | 91.04 | 10.0 | 15.5 | 97.44 | 10.0 | 11.5 |
|
|
|
|
|
|
|
|
|
|
|
|
77.60 | 10.0 | 12.5 | 84.80 | 12.0 | 15.5 | 91.20 | 11.0 | 15.5 | 97.60 | 11.0 | 12.0 |
77.76 | 12.0 | 13.5 | 84.96 | 11.5 | 14.5 | 91.36 | 11.0 | 16.0 | 97.76 | 11.0 | 11.5 |
77.92 | 12.0 | 12.5 | 85.12 | 11.5 | 15.5 | 91.52 | 11.5 | 16.0 | 97.92 | 10.0 | 11.5 |
78.08 | 12.0 | 12.5 | 85.28 | 12.0 | 16.0 | 91.68 | 11.0 | 15.5 | 98.08 | 9.5 | 11.5 |
78.24 | 11.5 | 12.5 | 85.44 | 12.0 | 16.5 | 91.84 | 11.5 | 15.5 | 98.24 | 10.0 | 11.5 |
|
|
|
|
|
|
|
|
|
|
|
|
78.40 | 11.5 | 12.0 | 85.60 | 12.0 | 16.0 | 92.00 | 11.5 | 14.0 | 98.40 | 9.5 | 11.5 |
78.56 | 11.5 | 12.0 | 85.76 | 12.5 | 16.5 | 92.16 | 11.5 | 15.5 | 98.52 | 10.0 | 11.5 |
78.72 | 11.0 | 12.0 | 85.92 | 13.5 | 16.0 | 92.32 | 12.0 | 15.5 | 98.72 | 10.0 | 11.0 |
78.88 | 10.0 | 12.0 | 86.08 | 13.5 | 16.0 | 92.48 | 12.5 | 14.5 | 98.88 | 11.0 | 10.0 |
79.04 | 10.0 | 12.0 | 86.24 | 12.5 | 15.5 | 92.64 | 12.5 | 15.5 | 99.04 | 9.5 | 9.5 |
|
|
|
|
|
|
|
|
|
|
|
|
79.20 | 9.5 | 12.0 | 86.40 | 12.5 | 15.5 | 92.80 | 12.5 | 15.5 | 99.20 | 9.0 | 10.0 |
79.36 | 9.5 | 12.0 | 86.56 | 12.0 | 14.5 | 92.96 | 12.0 | 15.5 | 99.36 | 9.0 | 10.0 |
79.52 | 9.5 | 12.5 | 86.72 | 12.0 | 14.5 | 93.12 | 12.0 | 14.5 | 99.52 | 7.5 | 11.0 |
79.68 | 9.5 | 12.5 | 86.88 | 11.0 | 14.0 | 93.28 | 12.0 | 14.5 | 99.68 | 7.5 | 11.5 |
79.84 | 10.0 | 12.0 | 87.04 | 11.0 | 14.0 | 93.44 | 11.5 | 14.5 | 99.84 | 7.5 | 11.5 |
|
|
|
|
|
|
|
|
| 100.00 | 7.5 | 11.0 |
80.00 | 9.5 | 12.5 |
|
|
|
|
|
|
|
|
|
80.16 | 9.5 | 12.5 |
|
|
|
|
|
|
|
|
|
80.32 | 9.5 | 12.5 |
|
|
|
|
|
|
|
|
|
80.48 | 10.0 | 12.0 |
|
|
|
|
|
|
|
|
|
80.64 | 10.0 | 12.5 |
|
|
|
|
|
|
|
|
|
Tabelle 3
Ordinaten der Bahnunebenheiten bezüglich einer willkürlichen Basislinie, Bahn B (mit großen Unebenheiten).
D = Entfernung vom Bahnbeginn in Metern
L = Ordinaten des linken Bahnstreifens in cm
R = Ordinaten des rechten Bahnstreifens in cm
(Anm.: Tabelle 3 ist als PDF dokumentiert.)
III. Anbringung des Lenkersitzes
Die Maße beziehen sich auf den in der Mitte des Schwingweges befindlichen gemäß Z I Z 1 und Z II Abbildung 1 belasteten Sitz sowie auf die voll niedergedrückten Pedale.
a | b | c | d | e |
mindestens 38 cm |
| einstellbar mindestens zwischen 40 cm und 45 cm | mindestens 17 cm | mindestens 60 cm |
höchstens 48 cm | höchstens 92.5 cm (wenn c = 45 cm) |
|
|
|
|
|
|
|
|
Fassung zuletzt geändert durch BGBl. Nr. 16/1981
Zuletzt aktualisiert am
01.07.2019
Gesetzesnummer
10011385
Dokumentnummer
NOR40051025
Zusatzdokumente: Tabelle 3
Lizenziert vom RIS (ris.bka.gv.at - CC BY 4.0 DEED)
