European Case Law Identifier: ECLI:AT:OGH0002:2019:0040OB00071.19Y.0708.000
Spruch:
Dem Revisionsrekurs wird Folge gegeben.
Die angefochtene Entscheidung wird dahin abgeändert, dass die Entscheidung des Erstgerichts wiederhergestellt wird.
Die klagende Partei ist schuldig, der beklagten Partei die mit 7.904,34 EUR (darin enthalten 1.198,14 EUR USt und 715,50 EUR Barauslagen) bestimmten Kosten des Rechtsmittelverfahrens binnen 14 Tagen zu ersetzen.
Begründung:
Die Klägerin ist Inhaberin des am 15. 3. 2008 erteilten Patents AT 503760 mit der Bezeichnung „Einputzleiste sowie Verfahren zur Herstellung einer Einputzleiste“ (in Folge: Klagspatent). Die Beklagte vertreibt in Österreich Einputzleisten, die die gleichen Eigenschaften haben wie jene, die nach dem Klagspatent hergestellt werden.
Gegenstand des Revisionsrekursverfahrens ist die Frage, ob die von der Beklagten vertriebenen Einputzleisten nach einem Verfahren (im Ausland durch einen Dritten) hergestellt wurden, das in das Klagspatent eingreift. Insoweit der Beklagten auch verboten werden sollte, das Verfahren nach dem Klagspatent in Österreich unmittelbar anzuwenden, wurde der Sicherungsantrag von den Vorinstanzen rechtskräftig abgewiesen.
Die Patentansprüche lauten:
„1. Verfahren zur Herstellung einer Einputzleiste aus Kunststoff mit einem daran befestigten Armierungsgewebe, dadurch gekennzeichnet,
a) dass eine Einputzleiste mit einer Auflagefläche für das Armierungsgewebe bereitgestellt oder hergestellt wird,
b) dass die Auflagefläche in einem Bereich, in dem das Armierungsgewebe befestigt wird, erhitzt und an deren Oberfläche in einen plastischen Zustand versetzt wird,
c) dass ein Haltebereich des Armierungsgewebes auf die Auflagefläche aufgebracht wird, sowie
d) dass zumindest ein Haltestreifen aus erhitztem Kunststoff auf den Haltebereich des Armierungsgewebes aufgebracht, vorzugsweise aufextrudiert, wird.
2. Verfahren nach Anspruch 1, dadurch gekennzeichnet, dass der zumindest eine Haltestreifen durch das Armierungsgewebe in den plastischen Bereich der Auflagefläche durchgreift.
3. Verfahren nach Anspruch 1 oder 2, dadurch gekennzeichnet, dass der auf den Haltebereich aufgebrachte oder aufextrudierte Haltestreifen mit der Einputzleiste verpresst wird.
4. Verfahren nach einem der Ansprüche 1 bis 3, dadurch gekennzeichnet, dass der Auflagebereich der Einputzleiste derart erhitzt wird, dass die Oberfläche aufschmilzt.
5. Verfahren nach einem der Ansprüche 1 bis 4, dadurch gekennzeichnet, dass der Auflagebereich durch Heißluft oder durch Infrarotstrahlung erhitzt wird.
6. Verfahren nach einem der Ansprüche 1 bis 5, dadurch gekennzeichnet, dass die Einputzleiste nach der Befestigung des Armierungsgewebes kalibriert und abgekühlt wird.
7. Verfahren nach einem der Ansprüche 1 bis 6, dadurch gekennzeichnet, dass für die Einputzleiste oder zumindest für deren Auflagefläche und für den zumindest einen Haltestreifen das selbe Kunststoffmaterial verwendet wird.
8. Verfahren nach einem der Ansprüche 1 bis 7, dadurch gekennzeichnet, dass die Einputzleiste gemäß Schritt a) im gleichen Arbeitsgang extrudiert, kalibriert und derart abgekühlt wird, dass sie formstabil ist.“
Der Patentanspruch 1 gliedert sich in nachstehende Merkmale:
„M 1.1 Verfahren zur Herstellung einer Einputzleiste aus Kunststoff mit einem daran befestigten Armierungsgewebe, dadurch gekennzeichnet
M 1.2 (bzw Schritt a) dass eine Einputzleiste mit einer Auflagefläche für das Armierungsgewebe bereitgestellt oder hergestellt wird,
M 1.3 (bzw Schritt b) dass die Auflagefläche in einem Bereich, in dem das Armierungsgewebe befestigt wird, erhitzt und an ihrer Oberfläche in einen plastischen Zustand versetzt wird,
M 1.4 (bzw Schritt c) dass ein Haltebereich des Armierungsgewebes auf die Auflagefläche aufgebracht wird, sowie
M 1.5 (bzw Schritt d) dass zumindest ein Haltestreifen aus erhitztem Kunststoff auf den Haltebereich des Armierungsgewebes aufgebracht, vorzugsweise aufextrudiert, wird.“
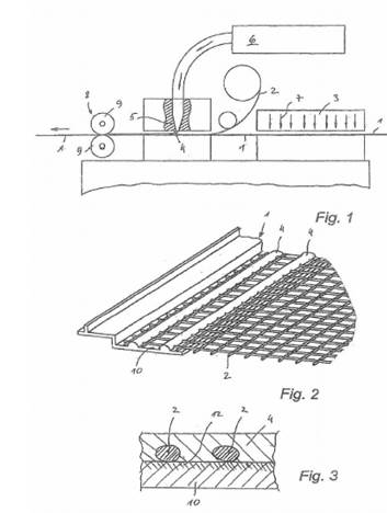
In der Patentschrift wird die dem Klagepatent zugrunde liegende Erfindung anhand der hier anschließend abgebildeten Skizzen wie folgt erläutert:
„Es zeigen Fig 1 in schematischer Darstellung eine Vorrichtung zur Herstellung einer erfindungsgemäßen Einputzleiste, Fig 2 eine erfindungsgemäße Einputzleiste mit daran befestigtem Armierungsgewebe in einer dreidimensionalen Darstellung, sowie Fig 3 eine Schnittdarstellung der Einputzleiste entlang eines Haltestreifens in einer vergrößerten Darstellung.
Mit der in Fig 1 schematisch dargestellten Vorrichtung wird eine Einputzleiste 1 mit einem Armierungsgitter bzw einem Armierungsgewebe verbunden. Dabei wird zunächst in einer Heizstation 3 ein Haltebereich der Einputzleiste 1 oberflächlich erhitzt, wobei ein Heißluftgebläse 7 oder Infrarotstrahlung verwendet werden können.
Danach wird das Armierungsgewebe 2 zugeführt, mit dessen Haltebereich (zB Randbereich) auf den Auflagebereich der Einputzleiste 1 aufgebracht und mit einem Haltestreifen 4 aus einer Kunststoffschmelze, die aus einer Extrusionsdüse 5 austritt, bedeckt. Die Extrusionsdüse 5 ist mit einer Vorrichtung 6 zur Herstellung der Kunststoffschmelze verbunden. Es ist auch möglich, als Haltestreifen 4 ein erhitztes Kunststoffband auf das Armierungsgewebe aufzubringen.
In Bewegungsrichtung nach der Extrusionsdüse 5 ist eine Abzugsvorrichtung 8 angeordnet, deren Rollen 9 dazu verwendet werden, die aufextrudierten bzw als erhitztes Kunststoffband aufgebrachten Haltestreifen 4 mit der Einputzleiste 1 zu verpressen. Nach der Abzugseinrichtung 8 wird die Einputzleiste samt Armierungsgewebe 2 kalibriert und abgekühlt.
Die in den Fig 2 und 3 dargestellte Einputzleiste 1 aus Kunststoff weist eine Auflagefläche 10 für das Armierungsgewebe 2 auf, wobei zwei parallele Haltestreifen aus Kunststoff unter Einschluss des Armierungsgewebes 2 auf den nachträglich erhitzten, plastischen Oberflächenbereich 12 der Auflagefläche 10 aufgebracht, vorzugsweise aufextrudiert, sind. Bevorzugt bestehen die Einputzleiste 1 und die Haltestreifen 4 aus demselben Kunststoffmaterial.“
Weiters wird in der Patentschrift ausgeführt:
„Bei der Erfindung wird somit der Haltestreifen auf einen erhitzten Bereich einer ansonsten relativ kühlen, formstabilen Einputzleiste unter Zwischenlage des Armierungsgewebes aufgebracht bzw aufextrudiert, wobei nur die Oberfläche einer Auflagefläche der Einputzleiste in einen plastischen Zustand versetzt wird, so dass das übrige Profil formstabil bleibt. Dabei ist es sowohl möglich, die Einputzleiste zuzukaufen oder in einem separaten Extrusionsvorgang zu erzeugen. Weiters kann die Einputzleiste auch im gleichen Arbeitsgang extrudiert werden, muss jedoch vor dem Aufbringen des Armierungsgewebes kalibriert und derart abgekühlt werden, dass sie formstabil ist.
Um eine besonders gute Verbindung der Haltestreifen mit der Einputzleiste zu gewährleisten, ist dafür zu sorgen, dass die Haltestreifen durch das Armierungsgewebe in den plastischen Bereich der Auflagefläche durchgreifen.
Weiters ist es von Vorteil, wenn die auf den Haltebereich aufgebrachten oder aufextrudierten Haltestreifen mit der Einputzleiste verpresst werden.
Bevorzugt kann der Auflagebereich der Einputzleiste derart erhitzt werden, dass die Oberfläche aufschmilzt, wobei Heißluftdüsen oder Infrarotstrahlung als Heizquellen eingesetzt werden.
Die erfindungsgemäße Einputzleiste mit einem an einer Auflagefläche befestigten Armierungsgewebe zeichnet sich dadurch aus, dass zumindest ein Haltestreifen aus Kunststoff unter Einschluss des Armierungsgewebes auf einen nachträglich erhitzten, plastischen Oberflächenbereich der Auflagefläche aufgebracht bzw aufextrudiert ist.
Eine besonders haltbare Verbindung zwischen Einputzleiste und Haltestreifen wird dann erreicht, wenn die Einputzleiste und der Haltestreifen aus demselben Kunststoffmaterial bestehen.“
In ihrer Entscheidung über einen Antrag auf Nichtigerklärung des Klagspatents ging die Nichtigkeitsabteilung des Patentamts (GZ N 19/2015‑4) davon aus, dass die Auflagefläche in einem Bereich erhitzt und an ihrer Oberfläche in einem plastischen Zustand versetzt werde. Der Bereich, an dem sich das Gewebe befestigen lasse, sei auf der Skizze mit 12 gekennzeichnet, der bis zu einer gewissen Tiefe der Auflagefläche aufgeweicht werde und somit zur Befestigung des Gewebes geeignet sei. Zur Frage der Reihenfolge ging die Nichtigkeitsabteilung davon aus, dass „erst ein bereitgestellter Auflagebereich erhitzt, dann das Armierungsgewebe darauf abgelegt wird und schließlich (werden) die Haltestreifen aufgebracht“.
Das Verfahren, das den Produkten der Beklagten zugrundeliegt, wurde von dieser offengelegt. Nach diesem Verfahren ist es möglich, Einputzleisten herzustellen, die die gleichen Eigenschaften haben wie jene, die nach dem Klagspatent hergestellt sind.
Zu diesem Alternativverfahren steht fest, dass eine Profilleiste mithilfe eines Extruders erzeugt wird; die Profilleiste hat nach dem Austritt aus dem Extruder eine Temperatur von ca 160 ° C. Die Profilleiste wird dann zum Abkühlen durch ein Wasserbad geführt. Danach wird die Profilleiste durch eine Einrichtung geführt, um Spannungen zu beseitigen. Die Profilleiste läuft in eine Heizvorrichtung. Dabei herrscht eine Temperatur von ca 160 ° C bis 240 ° C und unterseitig eine Temperatur von ca 240 ° C. Die Profilleiste wird soweit erwärmt, dass sie beim Austreten aus der Heizvorrichtung eine Temperatur von ca 200 ° C hat. Die Profilleiste ist in diesem Zustand auch in einem Schenkel, der nachfolgend den Bereich der Auflagefläche bildet, durchgehend weich, somit plastifiziert. Vor dem Eintritt der Profilleiste in die Heizvorrichtung wird ihr ein Gewebeband von oben her zugeführt. Das Gewebeband wird mithilfe einer Umlenk- und Druckrolle entlang eines Streifens (Haltebereich) auf einen Schenkel der Profilleiste angedrückt, der den Bereich der Auflagefläche bildet. Die so gebildete Kombination aus Profilleiste und Gewebeband wird gemeinsam durch die Heizvorrichtung bewegt. Nach der Heizvorrichtung bewegt sich die Kombination aus noch heißer Profilleiste und Gewebeband unter einer Rolle durch, sodass das Gewebeband mit seinem Haltebereich in den den Bereich der Auflagefläche bildenden Schenkel der Profilleiste gedrückt wird. Unmittelbar stromabwärts der Rolle befindet sich ein Extruder, der auf die Kombination aus Profilleiste und Gewebeband im Haltebereich einen Strang aus thermoplastischem Kunststoff aufspritzt. Der als Haltestreifen dienende Kunststoffstrang wird von einer Verpressrolle auf die Kombination aus Profilleiste und Gewebeband gepresst. Danach wird die so hergestellte Einputzleiste durch eine Kühlstrecke geführt. Beim Verfahren zur Herstellung der Produkte der Beklagten wird der als Auflagefläche für das Gewebe dienende Steg der Profilleiste durchgehend plastifiziert. Es wird die Auflagefläche – entgegen dem Klagspatent – somit nicht bloß an deren Oberfläche in einen plastischen Zustand versetzt. Überdies wird das Gewebe und der dafür als Auflagefläche dienende Steg der Profilleiste gemeinsam der Heizstation zugeführt und erwärmt und nicht– wie es das Klagspatent vorsieht – zuerst die Oberfläche erhitzt und anschließend das Gewebe aufgebracht.
Die Klägerin beantragt – soweit für das drittinstanzliche Verfahren noch von Relevanz – zur Sicherung ihres inhaltsgleichen Unterlassungsbegehrens die Erlassung der einstweiligen Verfügung, der Beklagten werde untersagt, Erzeugnisse feilzuhalten, in Verkehr zu bringen oder zu diesem Zweck einzuführen, die nach dem Klagspatent hergestellt werden. Die Beklagte habe die Unteransprüche 2, 3 und 5 des Klagspatents verletzt. Mit dem von der Beklagten offen gelegten Verfahren sei es technisch nicht möglich, Einputzleisten ohne thermische Schädigungen herzustellen.
Die Beklagte bestritt, dass das ihren Produkten zugrundeliegende Verfahren (einer bosnischen Gesellschaft) in den Schutzbereich des Klagspatents eingreife. Demnach werde der Steg der Profilleiste, an der das Gewebe zu befestigen sei, durchgehend plastifiziert, während im Verfahren nach dem Klagspatent nur die Oberfläche der Auflagefläche plastifiziert werde. Zudem seien die Verfahrensschritte 1b) und 1c) nach dem Klagspatent nacheinander auszuführen, was beim Verfahren für die Produkte der Beklagten nicht geschehe.
Das Erstgericht wies den Sicherungsantrag ab. Es sei bescheinigt, dass das den Produkten der Beklagten zugrundeliegende Herstellungsverfahren nicht unter das Klagspatent falle. Entgegen dem Klagspatent werde der als Auflagefläche dienende Steg der Profilleiste durchgehend plastifiziert. Zudem werde das Gewebe und der Steg der Profilleiste gemeinsam der Heizstation zugeführt und erwärmt. Die Beklagte habe ein (äquivalentes) Verfahren aufzeigen können, das zu einem gleichartigen Ergebnis führe und nicht in das Klagspatent eingreife.
Das Rekursgericht gab dem Rekurs der Klägerin (im hier relevanten Umfang) Folge und erließ die einstweilige Verfügung. Das Merkmal 1.3 treffe keine Aussage darüber, ob auch andere Teile der Leiste erhitzt werden oder nicht. Wesentlich für das Klagspatent sei das Vorhandensein einer zu erhitzenden Auflagefläche. Der Umstand, dass die Einputzleiste nur an der Oberfläche plastifiziert werde, sei für sich nicht wesentlich, um das Klagspatent vom Stand der Technik abzugrenzen. Zur Reihenfolge der Verfahrensschritte vertrat das Rekursgericht die Ansicht, dass das Reihen der Merkmale 1.3 und 1.4 keine Reihenfolge des Ablaufs vorgebe. Ohne eine konkrete Beschränkung in den Patentansprüchen, etwa durch die Verwendung der Wendung „anschließend“ oder eine praktische Notwendigkeit könne eine einschränkende Auslegung nicht unterstellt werden. Damit liege eine wortsinngemäße Verletzung des Klagspatents vor. Jedes Merkmal sei verwirklicht, wie es nach den im Rahmen der Auslegung gewonnenen Erkenntnissen zu verstehen sei.
Das Rekursgericht sprach aus, dass der Wert des Entscheidungsgegenstands 30.000 EUR übersteige und der Revisionsrekurs mangels erheblicher Rechtsfrage nicht zulässig sei.
Gegen diese Entscheidung richtet sich der Revisionsrekurs der Beklagten mit dem Antrag, die angefochtene Entscheidung im abweisenden Sinn abzuändern; hilfsweise wird ein Aufhebungsantrag gestellt.
Die Klägerin beantragt, den Revisionsrekurs zurückzuweisen bzw ihm nicht Folge zu geben.
Der Revisionsrekurs ist zur Klarstellung zulässig, er ist auch berechtigt.
Rechtliche Beurteilung
1. Der Vorwurf der Beklagten, die Auslegung des Schutzumfangs durch das Rekursgericht widerspreche dem klägerischen Vorbringen im erstinstanzlichen Verfahren, sodass das Rekursgericht gegen den Dispositionsgrundsatz verstoßen bzw einen Verstoß der Klägerin gegen das Neuerungsverbot nicht beachtet habe, trifft schon deshalb nicht zu, weil es sich bei der Auslegung des Schutzumfangs von Patentansprüchen im Wesentlichen um eine Rechtsfrage handelt (4 Ob 214/12t; 4 Ob 228/18k), auf die sich das Neuerungsverbot nicht bezieht (RIS‑Justiz RS0041965 [T7]; RS0016473 [T6]).
2. Bei einem Patent für ein Verfahren zur Herstellung eines neuen Erzeugnisses gilt bis zum Beweis des Gegenteils jedes Erzeugnis von gleicher Beschaffenheit als nach dem patentierten Verfahren hergestellt (§ 155 PatentG 1970; Weiser, PatG GMG3 § 155 PatG 607). Diese Vermutung ist erst widerlegt, wenn der Beklagte beweist (bzw im Sicherungsverfahren: bescheinigt), dass er das Erzeugnis nach einem anderen Verfahren herstellt (RS0116274). Der Beklagten ist es im Bescheinigungsverfahren gelungen, diese Vermutung zu widerlegen.
3. Dabei kommt es entscheidend auf den Schutzbereich des Klagspatents an. Dieser wird durch die Patentansprüche bestimmt. Die Beschreibung und die Zeichnungen sind zur Auslegung der Patentansprüche heranzuziehen. Das Protokoll über die Auslegung des Artikels 69 des Europäischen Patentübereinkommens ist sinngemäß anzuwenden (§ 22a Abs 1 PatG; vgl auch RS0071537). Bei der Auslegung von Patentansprüchen sind die mit dem Patent verfolgten Ziele gegeneinander abzuwägen: ausreichender Schutz für den Patentinhaber und ausreichende Rechtssicherheit für Dritte. Für den ersten Gesichtspunkt ist die objektive Bedeutung der Erfindung, wie sie in den Patentansprüchen ihren Niederschlag gefunden hat, und nicht die subjektive Anstrengung des Erfinders maßgeblich; für den zweiten das, was der Fachmann bei objektiver Betrachtung den Patentansprüchen entnimmt (Weiser, PatG GMG3 § 22a PatG 256; Fox/Strobl in Stadler/Koller, PatG § 22a Rz 26, 30). Der Schutzbereich des Patents muss für Außenstehende hinreichend sicher vorhersehbar sein (RS0118279). Maßgeblich für den Schutzumfang eines Patents ist demnach ein ausgewogenes Verhältnis zwischen dem, was sich aus dem genauen Wortlaut der Patentansprüche (bzw ihrem Sinngehalt; vgl RS0071338 [T4]) ergibt, und dem, was aus der Beschreibung und den Zeichnungen als Lösung des technischen Problems hervorgeht (Op 3/09).
4. Bei Anwendung dieser Grundsätze erweist sich eine Korrektur der angefochtenen Entscheidung im Sinne der Ausführungen im Rechtsmittel als geboten. Das Erstgericht hat sowohl die Frage, in welchem Umfang die Einputzleiste erhitzt werden muss, als auch die Problematik der Reihenfolge der einzelnen Verfahrensschritte zutreffend gelöst.
4.1 Nach der Beschreibung der Erfindung in der Patentschrift wird „der Haltestreifen auf einen erhitzten Bereich einer ansonsten relativ kühlen, formstabilen Einputzleiste“ aufgebracht, „wobei nur die Oberfläche einer Auflagefläche der Einputzleiste in einen plastischen Zustand versetzt wird, so dass das übrige Profil formstabil bleibt“. Die Beschreibung des Klagepatents gibt damit sehr klar vor, wie das Merkmal 1.3 zu verstehen ist. Eine vollständige Plastifizierung wird hier ganz deutlich als nicht erwünscht beschrieben. Damit ist klar zum Ausdruck gebracht, dass nur bei Befolgung dieser einschränkenden Auslegung der Erfolg erzielt wird, der erfindungsgemäß mit den im Anspruch bezeichneten Mitteln erreicht werden soll. Das Verfahren der Beklagten macht von diesem Anspruch daher nicht wortsinngemäß Gebrauch.
4.2 Die Reihenfolge der Verfahrensschritte ist prima vista „sequentiell", also so zu lesen, wie sie dastehen, sofern sich Gegenteiliges nicht zwingend ergibt bzw ausdrücklich angeordnet wird. Gerade ein Verfahrenspatent ist in aller Regel von einem bestimmten Ablauf geprägt. Damit liegt in der angeführten Abfolge von bestimmten Verfahrensschritten im Wortlaut des Patentanspruchs ein entscheidendes Indiz für die Einhaltung dieser Reihenfolge. Nach Ansicht des Senats bringt der gegenständliche Patentanspruch zusammen mit der Beschreibung deutlich zum Ausdruck, dass für einzelne Verfahrensschritte eine bestimmte, durch andere vorangegangene Verfahrensschritte hervorgebrachte technische Situation vorausgesetzt wird. Soweit in der Beschreibung zu Fig 1 die Worte „zunächst“ und „danach“ verwendet werden, geht daraus – zusätzlich zur grundsätzlich zu berücksichtigenden Abfolge im Patentanspruch – hervor, dass die Schritte nacheinander vorgenommen werden sollen. Zudem ist zu berücksichtigen, dass das Merkmal 1.3 dahingehend zu interpretieren war, dass erfindungsgemäß lediglich die Oberfläche der Auflagefläche aufgeschmolzen wird (siehe oben). Daran anknüpfend kann der Fachmann die im Patentanspruch vorgegebene Reihenfolge der Verfahrensschritte auch deshalb als zwingend ansehen, weil das Armierungsgewebe, wenn man es vor dem Erhitzen auf der Oberfläche der Auflagefläche aufbringt, den Wärmeeintrag in die Oberfläche womöglich derart behindert, dass eine Plastifizierung der Oberfläche nicht vernünftig herstellbar ist (vgl Weiser, PatG GMG3 § 22a PatG 239).
4.3 Die hier aufgezeigte Lösung beider Fragen deckt sich auch mit der von der Nichtigkeitsabteilung vertretenen Ansicht. Die Auslegung des Schutzbereichs eines Patents wird auch entscheidend von jenen Gründen geprägt, die von der Nichtigkeitsabteilung des Patentamts bei der Entscheidung über die Nichtigerklärung herangezogen wurden. Insbesondere dann, wenn ein Patent nur wegen der bestimmten Auslegung eines Merkmals aufrechterhalten worden ist, sollte das Verletzungsgericht nur in besonderen Ausnahmefällen von dieser Auslegung abweichen (idS Tilmann, Patentschutzsystem in Europa, GRUR 1998, 325). Sowohl bei der Frage, in welchem Umfang die Leiste nach dem Klagspatent zu erhitzen ist, als auch bei der Reihenfolge der Verfahrensschritte, finden sich aus den oben referierten Ausführungen des Patentamts Argumente zugunsten der Rechtsmittelwerberin.
4.4 Auf die Frage des Verpressens musste nicht näher eingegangen werden, weil aufgrund der bereits aufgezeigten Unterschiede der beiden Verfahren kein Eingriff in den Schutzbereich des Klagspatents vorliegt.
4.5 Fragen zur äquivalenten Benützung stellen sich im Anlassfall nicht. Hat der Beklagte das alternative Verfahren offen gelegt, trifft die Behauptungs- und Beweislast für äquivalenzbegründende Umstände den Kläger (RS0116274 [T1]; Weiser, PatG GMG3 § 155 PatG 609; Strobl in Stadler/Koller, PatG § 155 Rz 13). Die Klägerin hat behauptet, dass das von der Beklagten vorgebrachte Herstellungsverfahren aufgrund der Erhitzung der gesamten Einputzleiste nicht funktionieren könne. Damit wurde keine– für einen Fachmann – naheliegende (funktionsgleiche bzw äquivalente) Ausführungsform behauptet (RS0123522).
5. Der von der Klägerin geltend gemachte Unterlassungsanspruch ist daher nicht bescheinigt. Dem Revisionsrekurs ist deshalb Folge zu geben und der angefochtene Beschluss dahin abzuändern, dass die abweisende Entscheidung des Erstgerichts einschließlich der Kostenentscheidung wiederhergestellt wird.
6. Die Entscheidung über die Kosten des Sicherungsverfahrens der zweiten und dritten Instanz beruht auf § 393 Abs 1 EO iVm §§ 41, 50 ZPO. Der Zuschlag für die Beiziehung eines Patentanwalts steht zu, weil nicht nur prozessual-juristische Fragen Gegenstand der Rechtsmittelverfahren waren. Das Kostenverzeichnis in der Rekursbeantwortung war im Sinne der Beklagten von offensichtlichen Schreib- bzw Rechenfehlern zu bereinigen.
Lizenziert vom RIS (ris.bka.gv.at - CC BY 4.0 DEED)
