Anhang 3
VERFAHREN ZUR ERMITTLUNG DES LUFTSCHALLS, DER VON ZUR VERWENDUNG IM FREIEN VORGESEHENEN GERÄTEN UND MASCHINEN ERZEUGT WIRD ANWENDUNGSBEREICH Schematische Darstellung des Zwischenstücks Betonblock Prüfeinrichtung Schema der Prüfstrecke Ausführungsdetail und Montage der Laufbahn Messabstand Anordnung der Mikrophone, wenn sich das Hubwerk auf dem Träger des Kranauslegers befindet
Dieser Anhang enthält die Verfahren zur Messung des Luftschalls, die zur Ermittlung der Schallleistungspegel von Geräten und Maschinen, die unter diese Richtlinie fallen, im Hinblick auf das Konformitätsbewertungsverfahren dieser Verordnung anzuwenden sind.
In Teil A dieses Anhangs wird für jeden in den §§ 10 und 11 genannten Geräte- und Maschinentyp zur Messung des Schalldruckpegels auf einer Messfläche, die die Schallquelle umgibt, und zur Berechnung des von der Schallquelle erzeugten Schalleistungspegels Folgendes festgelegt:
- Geräuschemissionsgrundnormen,
- allgemeine Ergänzungen zu diesen Geräuschemissionsgrundnormen.
In Teil B dieses Anhangs wird für jeden in den §§ 10 und 11 genannten Geräte- und Maschinentyp Folgendes angegeben:
- eine empfohlene Geräuschemissionsgrundnorm einschließlich
- – eines Verweises auf die aus Teil A ausgewählte Geräuschemissionsgrundnorm,
- – der Messumgebung,
- – des Werts der Konstante K2A,
- – der Form der Messfläche,
- – der Zahl und der Standorte der Mikrophone,
- die Betriebsbedingungen einschließlich
- eines Verweises auf eine Norm (soweit vorhanden) und
- – der Anforderungen für das Aufstellen der Geräte und Maschinen,
- – eines Verfahrens zur Berechnung der Schalleistungspegel für den Fall, dass verschiedene Prüfungen unter unterschiedlichen Betriebsbedingungen erforderlich sind,
- weitere Informationen.
Bei der Prüfung bestimmter Geräte- und Maschinentypen kann der Hersteller oder sein Bevollmächtigter grundsätzlich eine der Geräuschemissionsgrundnormen des Teils A auswählen und den Geräte- und Maschinentyp unter den in Teil B festgelegten Betriebsbedingungen messen. Bei Streitigkeiten ist jedoch die in Teil B empfohlene Geräuschemissionsgrundnorm zusammen mit den ebenfalls in Teil B festgelegten Betriebsbedingungen anzuwenden.
Teil A
GERÄUSCHEMISSIONSGRUNDNORMEN
Zur Ermittlung des Schallleistungspegels von zur Verwendung im Freien vorgesehenen Geräten und Maschinen im Sinne von Artikel 2 Absatz 1 können im Allgemeinen die Geräuschemissionsgrundnormen
EN ISO 3744:1995
EN ISO 3746:1995
angewandt werden, sofern dabei folgende Zusatzbestimmungen beachtet werden:
1. Messunsicherheiten
Bei den Konformitätsbewertungsverfahren in der Entwurfsphase werden Messunsicherheiten nicht berücksichtigt.
2. Betrieb der Schallquelle während der Prüfung
2.1. Drehzahl des Gebläses
Ist der Motor der Geräte und Maschinen oder die jeweilige Hydraulik mit einem oder mehreren Gebläsen ausgestattet, müssen diese während der Prüfung in Betrieb sein. Die Drehzahl des Gebläses ist ‑ gemäß einer der nachstehenden Bedingungen ‑ vom Hersteller der Geräte und Maschinen anzugeben und muss im Prüfprotokoll erscheinen. Diese Drehzahl wird bei weiteren Messungen zugrunde gelegt.
- a)Direkt an den Motor angeschlossenes Gebläse
- – bei maximaler Arbeitsdrehzahl,
- – eine erste Prüfung bei Stillstand des Gebläses, eine zweite Prüfung bei maximaler Drehzahl. Der ermittelte Schalldruckpegel LpA ist dann aus beiden Messergebnissen nach folgender Formel zu errechnen:
LpA = 10 lg {0.3 × 10 0.1 LpA,0% + 0.7 × 100.1 LpA,100%}
dabei ist:
LpA,0% | der Schalldruckpegel bei Stillstand des Gebläses, |
LpA,100% | der Schalldruckpegel bei maximaler Drehzahl. |
- c)Stufenlos regelbares Gebläse
2.2. Prüfung von Geräten und Maschinen ohne Last
Für diese Messungen müssen der Motor und die Hydraulik der Geräte und Maschinen gemäß der Betriebsanleitung auf Betriebstemperatur gebracht werden. Ferner sind die Sicherheitsanforderungen zu beachten.
Die Prüfung ist bei Stillstand der Geräte und Maschinen ohne Betrieb der Arbeitsaggregate oder der Fahreinrichtung durchzuführen. Bei der Prüfung wird der Motor im Leerlauf mit mindestens der Nenndrehzahl, die der Nennleistung (Nutzleistung) *) entspricht, betrieben.
Wird die Maschine durch einen Kraftstromerzeuger oder mit Strom aus dem Netz betrieben, muss die Frequenz des Versorgungsstroms, der vom Hersteller für den Motor angegeben ist, bei Maschinen mit Induktionsmotor auf ± 1 Hz stabil sein, und bei Maschinen mit einem Kommutatormotor muss die zugeführte Spannung ± 1% der Nennspannung entsprechen. Die zugeführte Spannung wird am Stecker eines fest mit dem Gerät verbundenen Kabels oder einer Leitung gemessen bzw. am Einlass der Maschine bzw. des Geräts, wenn das Kabel abgetrennt werden kann. Die Wellenform des vom Kraftstromerzeuger zugeführten Stroms muss ähnlich der des Netzstroms sein.
Wenn die Maschine batteriebetrieben ist, muss die Batterie ganz aufgeladen sein.
Die Drehzahl und die entsprechende Nennleistung sind vom Hersteller der Geräte und Maschinen anzugeben und müssen im Prüfprotokoll erscheinen.
Haben die Geräte und Maschinen mehrere Motoren, müssen diese bei den Prüfungen gleichzeitig laufen. Ist dies nicht möglich, ist jede mögliche Kombination der Motoren zu prüfen.
2.3. Prüfung von Geräten und Maschinen unter Last
Für diese Messungen müssen der Motor (Antrieb) und die Hydraulik der Geräte und Maschinen gemäß der Betriebsanleitung auf Betriebstemperatur gebracht werden. Ferner sind die Sicherheitsanforderungen zu beachten. Während der Prüfung dürfen Signaleinrichtungen wie Hupen oder die Warneinrichtung für Rückwärtsfahrt nicht betätigt werden.
Die Drehzahl der Geräte und Maschinen ist aufzuzeichnen und muss im Prüfprotokoll angegeben werden.
Verfügen die Geräte und Maschinen über mehrere Motoren und/oder Aggregate, müssen diese während der Prüfungen gleichzeitig laufen. Ist das nicht möglich, ist jede mögliche Betriebskombination der Motoren und Aggregate zu prüfen.
Für jeden unter Last zu prüfenden Geräte- oder Maschinentyp sind die Bedingungen für den Betrieb unter Last festzulegen, die im Prinzip ähnliche Wirkungen und Belastungen erzeugen wie beim tatsächlichen Arbeitsbetrieb.
2.4. Prüfung handbetätigter Geräte und Maschinen
Für jeden Typ handbetätigter Geräte und Maschinen sind typische Betriebsbedingungen festzulegen, die ähnliche Wirkungen und Belastungen erzeugen wie beim tatsächlichen Arbeitsbetrieb.
3. Berechnung des Messflächen-Schalldruckpegels
Der Messflächen-Schalldruckpegel ist mindestens dreimal zu messen. Wenn mindestens zwei der ermittelten Werte um nicht mehr als 1 dB voneinander abweichen, sind keine weiteren Messungen nötig. Andernfalls sind die Messungen fortzusetzen, bis zwei Werte ermittelt werden, die um nicht mehr als 1 dB voneinander abweichen. Der bei der Berechnung des Schallleistungspegels zu verwendende A-bewertete Messflächen-Schalldruckpegel ist der arithmetische Mittelwert der beiden höchsten Werte, die um nicht mehr als 1 dB voneinander abweichen.
4. Angaben im Prüfprotokoll
Der A-bewertete Schallleistungspegel einer geprüften Schallquelle ist als gerundete volle Zahl anzugeben (bei weniger als 0,5 wird abgerundet; ab 0,5 wird aufgerundet).
Der Bericht muss die zur Identifizierung der Schallquelle erforderlichen technischen Daten sowie die Geräuschmessnorm und die akustischen Werte enthalten.
5. Zusätzliche Mikrophonpositionen auf der halbkugelförmigen Messfläche (EN ISO 3744:1995)
Zusätzlich zu den in den Abschnitten 7.2.1 und 7.2.2 der Norm EN ISO 3744:1995 beschriebenen Messflächen kann eine halbkugelförmige Messfläche mit 12 Mikrophonen verwendet werden. Die kartesischen Koordinaten der 12 Mikrophonpositionen auf der halbkugelförmigen Fläche mit dem Radius r sind der nachstehenden Tabelle zu entnehmen. Der Radius r der Halbkugel muss größer/gleich dem Doppelten der größten Abmessung des Bezugsquaders sein. Der Bezugsquader ist definiert als der kleinstmögliche Quader, der die Geräte und Maschinen (ohne Anbauteile) gerade einschließt und an der schallreflektierenden Fläche endet. Der Radius der Halbkugel ist auf den nächsthöheren der folgenden Werte zu runden: 4, 10, 16 m.
Die Anzahl (12) der Mikrophone kann auf 6 verringert werden, aber die Mikrophonpositionen 2, 4, 6, 8, 10 und 12 entsprechend den Anforderungen des Abschnitts 7.4.2 von EN ISO 3744:1995 müssen auf jeden Fall verwendet werden.
In der Regel ist die Anordnung mit 6 Mikrophonpositionen auf einer halbkugelförmigen Messfläche zu verwenden. Sind in den Geräuschmessnormen dieser Verordnung für ein bestimmtes Gerät oder eine bestimmte Maschine andere Spezifikationen vorgegeben, so sind diese Spezifikationen zugrunde zu legen.
TABELLE: Koordinaten der 12 Mikrophonpositionen
Mikrophon | x/r | y/r | z |
1 | 1 | 0 | 1,5 m |
2 | 0,7 | 0,7 | 1,5 m |
3 | 0 | 1 | 1,5 m |
4 | -0,7 | 0,7 | 1,5 m |
5 | -1 | 0 | 1,5 m |
6 | -0,7 | -0,7 | 1,5 m |
7 | 0 | -1 | 1,5 m |
8 | 0,7 | -0,7 | 1,5 m |
9 | 0,65 | 0,27 | 0,71 r |
10 | -0,27 | 0,65 | 0,71 r |
11 | -0,65 | -0,27 | 0,71 r |
12 | 0,27 | -0,65 | 0,71 r |
6. Umgebungskorrektur K2A
Die Geräte und Maschinen sind auf einer schallreflektierenden Fläche aus Beton oder nichtporösem Asphalt zu prüfen; in diesem Fall gilt für die Umgebungskorrektur K2A = 0. Sind in den Geräuschmessnormen dieser Verordnung für ein bestimmtes Gerät oder eine bestimmte Maschine andere Spezifikationen vorgegeben, so sind diese Spezifikationen zugrunde zu legen.
Zusätzliche Anordnung von Mikrophonen auf der halbkugelförmigen Messfläche (12 Mikrophonpositionen)
Teil B
GERÄUSCHMESSNORMEN FÜR VERSCHIEDENE GERÄTE UND MASCHINEN
0. GERÄTE UND MASCHINEN, DIE OHNE LAST GEPRÜFT WERDEN
Geräuschemissionsgrundnorm
EN ISO 3744:1995
Messumgebung
Schallreflektierende Fläche aus Beton oder nichtporösem Asphalt
Umgebungskorrektur K2A
K2A = 0
Messfläche/Anzahl der Mikrophonpositionen/Messabstand
- i)wenn die größte Abmessung des Bezugsquaders höchstens 8 m ist:
Halbkugel/6 Mikrophonpositionen gemäß Teil A Nummer 5/gemäß Teil A Nummer 5
- ii)wenn die größte Abmessung des Bezugsquaders größer als 8 m ist:
Quader gemäß ISO 3744:1995 mit Messabstand d = 1 m
Betriebsbedingungen während der Prüfung
Prüfung ohne Last
Die Geräuschmessungen sind gemäß Teil A Nummer 2.2 durchzuführen.
Beobachtungszeitraum/Ermittlung der Schallleistungspegel bei verschiedenen Betriebsbedingungen
Der Beobachtungszeitraum muss mindestens 15 s betragen.
1. HUBARBEITSBÜHNEN MIT VERBRENNUNGSMOTOR
siehe Abschnitt 0
2. FREISCHNEIDER
Geräuschemissionsgrundnorm
EN ISO 3744:1995
Messumgebung
ISO 10884:1995
Messfläche/Anzahl der Mikrophonpositionen/Messabstand
ISO 10884:1995
Betriebsbedingungen während der Prüfung
Prüfung unter Last
ISO 10884:1995 Abschnitt 5.3
Beobachtungszeitraum
ISO 10884:1995
3. BAUAUFZÜGE FÜR DEN MATERIALTRANSPORT
siehe Abschnitt 0
Der geometrische Mittelpunkt des Motors ist über dem Mittelpunkt der Halbkugel zu positionieren. Der Aufzug ist ohne Last zu betreiben und muss die Halbkugel gegebenenfalls in Richtung von Punkt 1 verlassen.
4. BAUSTELLENBANDSÄGEMASCHINEN
Geräuschemissionsgrundnorm
EN ISO 3744:1995
Messfläche/Anzahl der Mikrophonpositionen/Messabstand
ISO 7960:1995 Anhang J mit d = 1 m
Betriebsbedingungen während der Prüfung
Prüfung unter Last
gemäß ISO 7960:1995 Anhang J (nur Abschnitt J 2b)
Beobachtungszeitraum
gemäß ISO 7960:1995 Anhang J
5. BAUSTELLENKREISSÄGEMASCHINEN
Geräuschemissionsgrundnorm
EN ISO 3744:1995
Messfläche/Anzahl der Mikrophonpositionen/Messabstand
ISO 7960:1995 Anhang A mit Messabstand d = 1 m
Betriebsbedingungen während der Prüfung
Prüfung unter Last
ISO 7960:1995 Anhang A (nur Abschnitt A2b)
Beobachtungszeitraum
ISO 7960:1995 Anhang A
6. TRAGBARE MOTORKETTENSÄGEN
Geräuschemissionsgrundnorm
EN ISO 3744:1995
Messumgebung
ISO 9207:1995
Messfläche/Anzahl der Mikrophonpositionen/Messabstand
ISO 9207:1995
Betriebsbedingungen während der Prüfung
Prüfung unter Last/Prüfung ohne Last
Sägen von Holz unter Volllast/Motor mit Höchstdrehzahl ohne Last
- a)mit Verbrennungsmotor: ISO 9207:1995 Abschnitte 6.3 und 6.4b)mit Elektromotor: eine Prüfung gemäß ISO 9207:1995 Abschnitt 6.3 und eine Prüfung bei Höchstdrehzahl des Motors ohne Last
Beobachtungszeitraum/Ermittlung der Schallleistungspegel bei verschiedenen Betriebsbedingungen
ISO 9207:1995 Abschnitte 6.3 und 6.4
Der Schalleistungspegel LWA wird wie folgt berechnet:
dabei sind LW1 und LW2 die jeweiligen Mittelwerte der Schallleistungspegel bei den zwei oben genannten verschiedenen Betriebsarten.
7. KOMBINIERTE HOCHDRUCKSPÜL- UND SAUGFAHRZEUGE
Wenn beide Aggregate gleichzeitig in Betrieb genommen werden können, hat dies entsprechend den Abschnitten 26 und 52 zu erfolgen. Wenn nicht, sind sie getrennt zu prüfen und es ist der höhere Wert anzugeben.
8. VERDICHTUNGSMASCHINEN
i) NICHTVIBRIERENDE WALZEN
siehe Abschnitt 0
ii) FAHRERGESTEUERTE VIBRATIONSWALZEN
Geräuschemissionsgrundnorm
EN ISO 3744:1995
Betriebsbedingungen während der Prüfung
Aufstellen der Geräte und Maschinen
Die Vibrationswalze ist auf einem oder mehreren geeigneten Elementen aus elastischem Material, zB Luftkissen, aufzustellen. Diese Luftkissen müssen aus weichem Material sein (Elastomer oder ähnlichem) und sind so weit aufzupumpen, bis die Maschine um mindestens 5 cm vom Boden abgehoben ist. Resonanzeffekte sind zu vermeiden. Das bzw. die Luftkissen müssen groß genug sein, damit die Maschine während der Prüfung stabil steht.
Prüfung unter Last
Die Maschine ist im Stillstand zu prüfen, wobei der Motor mit Nenndrehzahl (entsprechend Herstellerangabe) betrieben und keine Kraft auf die Fahrwerke übertragen wird. Der Verdichtungsmechanismus wird mit der maximalen Verdichtungsleistung betrieben, die nach Angabe des Herstellers der Kombination aus der höchsten Frequenz und der bei dieser Frequenz größtmöglichen Amplitude entspricht.
Beobachtungszeitraum
Der Beobachtungszeitraum muss mindestens 15 s betragen.
- iii)RÜTTELPLATTEN, VIBRATIONSSTAMPFER, EXPLOSIONSSTAMPFER UND GEFÜHRTE VIBRATIONSWALZEN
Geräuschemissionsgrundnorm
EN ISO 3744:1995
Messumgebung
EN 500-4 Rev. 1: 1998 Anhang C
Betriebsbedingungen während der Prüfung
Prüfung unter Last
EN 500-4 Rev. 1: 1998 Anhang C
Beobachtungszeitraum
EN 500-4 Rev. 1: 1998 Anhang C
9. KOMPRESSOREN
Geräuschemissionsgrundnorm
EN ISO 3744:1995
Messfläche/Anzahl der Mikrophonpositionen/Messabstand
Halbkugel/6 Mikrophonpositionen gemäß Teil A Nummer 5/gemäß Teil A Nummer 5
oder
Quader/gemäß ISO 3744:1995 mit Messabstand d = 1 m
Betriebsbedingungen während der Prüfung
Aufstellen der Geräte und Maschinen
Der Kompressor ist auf der schallreflektierenden Fläche aufzustellen. Kompressoren auf Gleitschienen sind auf einen 0,40 m hohen Träger zu stellen, wenn in der Anweisung des Herstellers nicht anders beschrieben.
Prüfung unter Last
Der zu prüfende Kompressor ist auf Betriebstemperatur zu bringen und wie für Dauerbetrieb gleichmäßig zu betreiben und entsprechend den Angaben des Herstellers ordnungsgemäß zu warten und zu schmieren.
Die Ermittlung des Schallleistungspegels erfolgt unter Volllast oder in einem reproduzierbaren Betriebszustand, der für den lautesten Betrieb bei typischer Verwendung der zu prüfenden Maschine repräsentativ ist, je nachdem, welche Bedingung die größte Geräuschemission ergibt.
Wenn die Maschine als Ganzes so ausgelegt ist, dass bestimmte Bauteile, zB Zwischenkühler, vom Kompressor entfernt angebracht sind, sollte versucht werden, die Geräuschemissionen dieser Teile während der Durchführung der Geräuschprüfung zu isolieren. Für die Isolierung der verschiedenen Geräuschquellen kann eine Spezialausrüstung erforderlich sein, um die Geräuschemissionen dieser Quellen während der Messung zu dämpfen. Im Prüfbericht sind die Geräuschkennwerte und die Betriebsbedingungen dieser Teile gesondert anzugeben.
Während der Prüfung sind die Abgase des Kompressors mittels Rohrleitung aus dem Prüfbereich abzuleiten. Es ist darauf zu achten, dass die durch die Abgasableitung verursachten Geräuschemissionen um mindestens 10 dB niedriger ausfallen als die zu messenden Geräuschemissionen an allen Messstellen (zB durch Anbringen eines Schalldämpfers).
Es ist dafür zu sorgen, dass bei einem Ablassen der Luft durch die Turbulenz am Ablassventil des Kompressors keine zusätzlichen Geräuschemissionen entstehen.
Beobachtungszeitraum
Der Beobachtungszeitraum muss mindestens 15 s betragen.
- 10.HANDGEFÜHRTE BETONBRECHER UND ABBAU-, AUFBRUCH- UND SPATENHÄMMER
Geräuschemissionsgrundnorm
EN ISO 3744:1995
Messfläche/Anzahl der Mikrophonpositionen/Messabstand
Halbkugel/6 Mikrophonpositionen gemäß Teil A Nummer 5 und der folgenden Tabelle/entsprechend der Masse des Geräts gemäß der folgenden Tabelle:
Masse des Geräts | Radius der | z für die Mikrophonpositionen |
m < 10 | 2 m | 0,75 m |
m ≥ 10 | 4 | 1,50 m |
Betriebsbedingungen während der Prüfung
Aufstellen der Geräte und Maschinen
Sämtliche Prüfgeräte sind in senkrechter Position zu prüfen.
Hat das Prüfgerät eine Abluftleitung, so ist deren Achse in gleichem Abstand zwischen zwei Mikrophonpositionen zu positionieren. Das Geräusch der Stromaggregats darf die Messung der Schallemissionen der geprüften Geräte nicht beeinflussen.
Befestigung des Geräts
Das Gerät ist bei der Prüfung an einer Halterung zu befestigen, die in einem Betonwürfel verankert ist. Dieser ist in einer Betongrube versenkt. Bei der Prüfung kann zwischen dem Gerät und der Halterung ein Zwischenstück aus Stahl angebracht werden. Dieses Zwischenstück muss eine feste Verbindung zwischen dem Gerät und der Halterung herstellen (siehe dazu Abbildung 10.1).
Spezifikationen des Betonblocks
Der Block muss würfelförmig sein und eine Seitenlänge von 0,60 m ± 2 mm haben. Er muss möglichst regelmäßig sein. Der Würfel ist aus bis zu 0,20 m dicken Schichten aus Stahlbeton herzustellen; beim schichtweisen Betonieren sind die Schichten jeweils sorgfältig zu rütteln, um eine zu starke Sedimentation zu vermeiden.
Betonqualität
Die Qualität des Betons muss C 50/60 von ENV 206 entsprechen.
Der Würfel ist mit Stahlstangen von 8 mm Durchmesser ohne Bindematerial zu verstärken, wobei die Stangen nicht miteinander verbunden sein dürfen. Die Auslegung ist Abbildung 10.2 zu entnehmen.
Einspannwerkzeug
Das Einspannwerkzeug ist im Block fest zu verankern; es besteht aus einem Druckluftstampfer mit einem Durchmesser von mindestens 178 mm und höchstens 220 mm und einem Einspannschaft. Dieser Einspannschaft entspricht demjenigen, der in der Regel für die zu prüfenden Geräte verwendet wird, wobei ISO 1180:1983 einzuhalten ist. Die Länge muss ausreichend sein, damit die Messung durchgeführt werden kann.
Die beiden Teile sind in geeigneter Weise miteinander zu verbinden. Dieses Werkzeug ist so im Block zu befestigen, dass das untere Ende des Druckluftstampfers 0,30 m in den Block versenkt ist (siehe Abbildung 10.2).
Der Block muss mechanisch fehlerfrei bleiben, besonders an der Stelle, an der das Einspannwerkzeug mit dem Beton verbunden ist. Vor und nach jedem Prüfgang ist zu prüfen, ob das Einspannwerkzeug noch fest im Betonblock verankert ist.
Positionierung des Würfels
Der Würfel ist in einer vollständig zementierten Grube zu versenken, die mit einer Abschirmplatte von mindestens 100 kg/m² abgedeckt ist (siehe Abbildung 10.3), sodass sich die Deckfläche der Abschirmplatte auf Bodenniveau befindet. Um Störgeräusche zu vermeiden, ist der Block an der Unterseite und den Seiten durch elastische Abstützungen zu isolieren, deren Grenzfrequenz höchstens der halben Schlagfrequenz des geprüften Geräts, ausgedrückt in Schlägen pro Sekunde, entspricht.
Die Öffnung der Abschirmplatte für das Einspannwerkzeug muss so klein wie möglich und mit einer elastischen schallabsorbierenden Dichtung versiegelt sein.
Prüfung unter Last
Das geprüfte Gerät ist mit dem Einspannwerkzeug zu verbinden.
Das Prüfgerät ist im stabilen Zustand zu betreiben und muss die gleiche Stabilität der Geräuschemission erreichen wie im Normalbetrieb.
Das Prüfgerät ist mit der in der Bedienungsanleitung angegebenen Höchstleistung zu betreiben.
Beobachtungszeitraum
Der Beobachtungszeitraum muss mindestens 15 s betragen.
Abbildung 10.1
Abbildung 10.2
Abbildung 10.3
Der Wert A ist so zu bestimmen, dass sich die Deckfläche der Abschirmplatte auf Bodenniveau befindet.
11. BETON- UND MÖRTELMISCHER
Geräuschemissionsgrundnorm
EN ISO 3744:1995
Betriebsbedingungen während der Prüfung
Prüfung unter Last
Das Mischaggregat (Trommel) ist bis zum Erreichen des Nenninhalts mit Sand einer Körnung von 0 bis 3 mm zu füllen, die Feuchtigkeit muss 4 bis 10% betragen.
Das Mischaggregat ist mindestens mit der Nenndrehzahl zu betreiben.
Beobachtungszeitraum
Der Beobachtungszeitraum muss mindestens 15 s betragen.
12. BAUWINDEN
siehe Abschnitt 0
Der geometrische Mittelpunkt des Motors ist über dem Mittelpunkt der Halbkugel zu positionieren. Die Winde ist ohne Last zu betreiben.
13. FÖRDER- UND SPRITZMASCHINEN FÜR BETON UND MÖRTEL
Geräuschemissionsgrundnorm
EN ISO 3744:1995
Betriebsbedingungen während der Prüfung
Besitzt die Maschine einen Zuteilarm, so ist dieser senkrecht zu stellen und die Zuleitung an den Fülltrichter anzuschließen. Ist dies nicht der Fall, ist die Maschine mit einer horizontalen Leitung von mindestens 30 m auszustatten, die in den Fülltrichter zurückführt.
Prüfung unter Last
- i)Förder- und Spritzmaschinen für Beton
Das Fördersystem und die Leitung sind mit einem betonähnlichen Material zu füllen, wobei der Zement durch einen Zusatzstoff, beispielsweise feine Asche, zu ersetzen ist. Die Maschine ist mit Höchstleistung zu betreiben, wobei ein Arbeitszyklus höchstens 5 s dauert (bei Überschreitung dieses Zeitintervalls wird dem „Beton“ Wasser beigemischt, um den Wert zu erreichen).
- ii)Förder- und Spritzmaschinen für Mörtel
Das Fördersystem und die Leitung sind mit einem fertigmörtelähnlichen Material zu füllen, wobei der Zement durch einen Zusatzstoff, beispielsweise Methylzellulose, zu ersetzen ist. Die Maschine ist mit Höchstleistung zu betreiben, wobei ein Arbeitszyklus höchstens 5 s dauert (bei Überschreitung dieses Zeitintervalls wird dem „Mörtel“ Wasser beigemischt, um den Wert zu erreichen).
Beobachtungszeitraum
Der Beobachtungszeitraum muss mindestens 15 s betragen.
14. FÖRDERBÄNDER
siehe Abschnitt 0
Der geometrische Mittelpunkt des Motors ist über dem Mittelpunkt der Halbkugel zu positionieren. Das Förderband ist ohne Last zu betreiben und muss die Halbkugel gegebenenfalls in Richtung von Punkt 1 verlassen.
15. FAHRZEUGKÜHLAGGREGATE
Geräuschemissionsgrundnorm
EN ISO 3744:1995
Betriebsbedingungen während der Prüfung
Prüfung unter Last
Das Kühlaggregat wird an einem echten oder simulierten Laderaum angebracht und bei Stillstand des Fahrzeugs geprüft. Die Einbauhöhe des Kühlaggregats muss den in der Betriebsanleitung vorgegebenen Einbauanforderungen entsprechen. Die Energiequelle des Kühlaggregats ist so zu betreiben, dass der Kühlkompressor und das Gebläse mit der in der Betriebsanleitung genannten Höchstdrehzahl laufen. Wenn das Kühlaggregat so ausgelegt ist, dass die Energieversorgung durch den Antriebsmotor des Fahrzeugs sichergestellt wird, gilt Folgendes: Der Fahrzeugmotor darf während der Prüfung nicht laufen, das Kühlaggregat wird an eine geeignete elektrische Energiequelle angeschlossen. Abkuppelbare Zugmaschinen sind für die Dauer der Prüfung abzukuppeln.
Kühlaggregate von Laderaum-Kühlaufbauten, die für unterschiedliche Energiequellen ausgelegt sind, sind für jede Energiequelle getrennt zu prüfen. Im Prüfprotokoll ist mindestens die Betriebsart mit der höchsten Geräuschemission zu vermerken.
Beobachtungszeitraum
Der Beobachtungszeitraum muss mindestens 15 s betragen.
16. PLANIERMASCHINEN
Geräuschemissionsgrundnorm
EN ISO 3744:1995
Messumgebung
ISO 6395:1988
Messfläche/Anzahl der Mikrophonpositionen/Messabstand
ISO 6395:1988
Betriebsbedingungen während der Prüfung
Aufstellen der Geräte und Maschinen
Planierraupen sind auf einem Prüfgelände zu prüfen, das der ISO-Norm 6395:1988 Abschnitt 6.3.3 entspricht.
Prüfung unter Last
ISO 6395:1988 Anhang B
Beobachtungszeitraum und gegebenenfalls unterschiedliche Betriebsbedingungen
ISO 6395:1988 Anhang B
17. BOHRGERÄTE
Geräuschemissionsgrundnorm
EN ISO 3744:1995
Betriebsbedingungen während der Prüfung
Prüfung unter Last
EN 791:1995 Anhang A
Beobachtungszeitraum
Der Beobachtungszeitraum muss mindestens 15 s betragen.
18. MULDENFAHRZEUGE
Geräuschemissionsgrundnorm
EN ISO 3744:1995
Messumgebung
ISO 6395:1988
Messfläche/Anzahl der Mikrophonpositionen/Messabstand
ISO 6395:1988
Betriebsbedingungen während der Prüfung
Prüfung unter Last
Entsprechend ISO-Norm 6395:1988 Anhang C mit folgender Abänderung:
Abschnitt C.4.3 Absatz 2 wird durch folgenden Wortlaut ersetzt:
„Der Motor ist mit maximaler Abregeldrehzahl (hohe Leerlaufdrehzahl) zu betreiben. Der Getriebebedienungshebel ist auf neutral zu stellen. Der Kipperaufbau ist dreimal in Kippstellung (Leeren) zu bringen ‑ bis etwa 75% der Höchstkippstellung ‑ und dann in die normale Fahrtposition zurückzufahren. Dies wird als ein Zyklus für den Hydraulikbetrieb im Stand betrachtet.
Ist der Kippvorgang nicht motorgetrieben, ist der Motor mit Leerlaufdrehzahl zu betreiben, der Getriebebedienungshebel bleibt ebenfalls auf neutral. Die Messung erfolgt ohne Kippen des Aufbaus. Der Beobachtungszeitraum muss 15 s betragen.“
Beobachtungszeitraum/Ermittlung der Schallleistungspegel bei verschiedenen Betriebsbedingungen
ISO 6395:1988 Anhang C
19. BE- UND ENTLADEAGGREGATE VON TANK- ODER SILOFAHRZEUGEN
Geräuschemissionsgrundnorm
EN ISO 3744:1995
Betriebsbedingungen während der Prüfung
Prüfung unter Last
Die Aggregate werden bei Stillstand des Lastkraftwagens geprüft. Der Antriebsmotor des Aggregats ist mit der Drehzahl zu betreiben, die der in der Bedienungsanleitung angegebenen Höchstleistung des Aggregats entspricht.
Beobachtungszeitraum
Der Beobachtungszeitraum muss mindestens 15 s betragen.
20. BAGGER
Geräuschemissionsgrundnorm
EN ISO 3744:1995
Messumgebung
ISO 6395:1988
Messfläche/Anzahl der Mikrophonpositionen/Messabstand
ISO 6395:1988
Betriebsbedingungen während der Prüfung
Prüfung unter Last
ISO 6395:1988 Anhang A
Beobachtungszeitraum/Ermittlung der Schallleistungspegel bei verschiedenen Betriebsbedingungen
ISO 6395:1988 Anhang A
21. BAGGERLADER
Geräuschemissionsgrundnorm
EN ISO 3744:1995
Messumgebung
ISO 6395:1988
Messfläche/Anzahl der Mikrophonpositionen/Messabstand
ISO 6395:1988
Betriebsbedingungen während der Prüfung
Prüfung unter Last
ISO 6395:1988 Anhang D
Beobachtungszeitraum/Ermittlung der Schallleistungspegel bei verschiedenen Betriebsbedingungen
ISO 6395:1988 Anhang D
22. ALTGLASSAMMELBEHÄLTER
Geräuschemissionsgrundnorm
EN ISO 3744:1995
Im Rahmen dieser Geräuschmessnorm wird der Einzelereignis-Schalldruckpegel Lp1s gemäß EN ISO 3744:1995 Abschnitt 3.2.2 für die Messung des Schalldruckpegels an den Mikrophonpositionen verwendet.
Umgebungskorrektur K2A
Messung im Freien
K2A = 0
Messung in geschlossenen Räumen
Der Wert der Konstanten K2A, der gemäß Norm EN ISO 3744:1995 Anhang A ermittelt wird, muss ≤ 2,0 dB sein. In diesem Fall wird K2A vernachlässigt.
Betriebsbedingungen während der Prüfung
Die Geräuschmessung erfolgt während eines vollständigen Zyklus, bei dem 120 Flaschen in einen zunächst leeren Behälter geworfen werden.
Es werden folgende Glasflaschen verwendet:
- Fassungsvermögen: | 75 cl |
- Masse: | 370 ± 30 g |
Der Prüfer hält jede Flasche am Flaschenhals, wobei der Flaschenboden in Richtung der Einwurföffnung zeigt. Anschließend wird die Flasche vorsichtig durch die Einwurföffnung in Richtung der Behältermitte eingeworfen, wobei ein Anschlagen der Flasche an den Wänden nach Möglichkeit zu vermeiden ist. Für das Einwerfen der Flaschen wird nur eine einzige Einwurföffnung benutzt; hierbei handelt es sich um die der Mikrophonposition 12 am nächsten gelegene Einwurföffnung.
Beobachtungszeitraum/Ermittlung der Schallleistungspegel bei verschiedenen Betriebsbedingungen
Die Messung des A-bewerteten Einzelereignis-Schalldruckpegels für jede in den Behälter eingeworfene Flasche wird vorzugsweise gleichzeitig an den sechs Mikrophonpositionen vorgenommen.
Der über die Messfläche gemittelte A-bewertete Einzelereignis-Schalldruckpegel wird gemäß EN ISO 3744:1995 Abschnitt 8.1 berechnet.
Der über alle 120 Flascheneinwürfe gemittelte A-bewertete Einzelereignis-Schallleistungspegel errechnet sich aus dem logarithmischen Mittelwert der über die Messfläche gemittelten A-bewerteten Einzelereignis-Schalldruckpegel.
23. GRADER
Geräuschemissionsgrundnorm
EN ISO 3744:1995
Messumgebung
ISO 6395:1988
Messfläche/Anzahl der Mikrophonpositionen/Messabstand
ISO 6395:1988
Betriebsbedingungen während der Prüfung
Prüfung unter Last
Entsprechend ISO-Norm 6395:1988 Anhang B
Beobachtungszeitraum/Ermittlung der Schallleistungspegel bei verschiedenen Betriebsbedingungen
ISO 6395:1988 Anhang B
24. GRASTRIMMER/GRASKANTENSCHNEIDER
siehe Abschnitt 2
Der Trimmer/Kantenschneider ist durch eine geeignete Vorrichtung so zu positionieren, dass sich das Schneideaggregat über dem Mittelpunkt der Halbkugel befindet. Bei Grastrimmern ist der Mittelpunkt des Schneideaggregats in einem Abstand von ca. 50 mm über der Messfläche zu halten. Im Hinblick auf die Anordnung der Schneidklingen sollten Graskantenschneider so nah wie möglich an der Messfläche positioniert werden.
25. HECKENSCHEREN
Geräuschemissionsgrundnorm
EN ISO 3744:1995
Messumgebung
ISO 11094:1991
Im Streitfall sind die Messungen im Freien auf einem künstlichen Bodenbelag durchzuführen (ISO 11094:1991 Abschnitt 4.1.2).
Umgebungskorrektur K2A
Messung im Freien
K2A = 0
Messungen in geschlossenen Räumen
Der Wert der Konstanten K2A, der ohne den künstlichen Bodenbelag gemäß Norm EN ISO 3744:1995 Anhang A ermittelt wird, muss ≤ 2,0 dB sein. In diesem Fall wird K2A vernachlässigt.
Messfläche/Anzahl der Mikrophonpositionen/Messabstand
ISO 11094:1991
Betriebsbedingungen während der Prüfung
Aufstellen der Geräte und Maschinen
Die Heckenschere ist entweder wie beim normalen Gebrauch von einer Person in der Hand zu halten oder an einer geeigneten Vorrichtung so anzubringen, dass das Schneideaggregat über dem Mittelpunkt der Halbkugel liegt.
Prüfung unter Last
Die Heckenschere ist mit der Nenndrehzahl mit laufenden Schneideaggregaten zu betreiben.
Beobachtungszeitraum
Der Beobachtungszeitraum muss mindestens 15 s betragen.
26. HOCHDRUCKSPÜLFAHRZEUGE
Geräuschemissionsgrundnorm
EN ISO 3744:1995
Betriebsbedingungen während der Prüfung
Prüfung unter Last
Das Hochdruckspülfahrzeug ist im Stillstand zu prüfen. Der Hauptantriebsmotor und die Hilfsmotoren sind mit der vom Hersteller für den Betrieb der Arbeitsaggregate angegebenen Drehzahl zu betreiben. Die Hochdruckpumpe(n) ist/sind mit Höchstdrehzahl und bei dem vom Hersteller angegebenen Betriebsdruck zu betreiben. Durch Verwendung einer geeigneten Düse wird der Druck knapp unterhalb der Reaktionsschwelle des Druckminderungsventils gehalten. Die Strömungsgeräusche der Düse dürfen keinen Einfluss auf die Ergebnisse der Messungen haben.
Beobachtungszeitraum
Der Beobachtungszeitraum muss mindestens 30 s betragen.
27. HOCHDRUCKWASSERSTRAHLMASCHINE
Geräuschemissionsgrundnorm
EN ISO 3744:1995
Messfläche/Anzahl der Mikrophonpositionen/Messabstand
Quader/gemäß EN ISO 3744:1995 mit Messabstand d = 1 m
Betriebsbedingungen während der Prüfung
Aufstellen der Geräte und Maschinen
Die Hochdruckwasserstrahlmaschine ist auf der schallreflektierenden Fläche aufzustellen. Maschinen auf Gleitschienen sind auf einen 0,40 m hohen Träger zu stellen, wenn in der Anweisung des Herstellers nicht anders beschrieben.
Prüfung unter Last
Die Hochdruckreinigungsmaschine ist in dem vom Hersteller angegebenen Bereich gleichförmig zu betreiben. Während der Messung wird diejenige Düse an die Hochdruckreinigungsmaschine angeschlossen, die bei einer Benutzung entsprechend der Bedienungsanleitung den höchsten Druck erzeugt.
Beobachtungszeitraum
Der Beobachtungszeitraum muss mindestens 15 s betragen.
28. HYDRAULIKHÄMMER
Geräuschemissionsgrundnorm
EN ISO 3744:1995
Messfläche/Anzahl der Mikrophonpositionen/Messabstand
Halbkugel/6 Mikrophonpositionen gemäß Teil A Nummer 5/r = 10 m
Betriebsbedingungen während der Prüfung
Aufstellen der Geräte und Maschinen
Der Hammer ist für die Prüfung an einer Halterung zu befestigen und es ist ein Spezialprüfblock zu verwenden. Abbildung 28.1 verdeutlicht die Merkmale dieses Prüfblocks, während aus Abbildung 28.2 die Lage der Halterung ersichtlich ist.
Halterung
Die Halterung für den zu prüfenden Hammer muss den Anforderungen der Betriebsanleitung des Hammers, insbesondere hinsichtlich Gewichtsklasse, Hydraulik-Ausgangsleistung, Ölzufuhr und Gegendruck der Rückleitung, entsprechen.
Befestigung
Die Befestigung sowie alle Anschlüsse (Schläuche, Rohrleitungen usw.) müssen den Anforderungen der Betriebsanleitung des Hammers entsprechen. Alle Geräuschentwicklungen durch Rohrleitungen und die verschiedenen mechanischen Bauteile, die für die Installation benötigt werden, sollten ausgeschaltet werden. Es ist für einen festen Anschluss aller Bauteile zu sorgen.
Stabilität des Hammers und statische Haltekraft
Der Hammer muss von der Halterung so nach unten gedrückt werden, dass eine vergleichbare Stabilität erzielt wird wie unter normalen Betriebsbedingungen. Der Hammer ist in aufrechter Stellung zu betreiben.
Werkzeug
Für die Messungen ist ein stumpfes Werkzeug zu verwenden. Die Länge des Werkzeugs muss den Anforderungen der Abbildung 28.1 (Prüfblock) entsprechen.
Prüfung unter Last
Hydraulik-Eingangsleistung und Öldurchfluss
Die Betriebsbedingungen des Hydraulikhammers sind in geeigneter Weise einzustellen, zu messen und zusammen mit den entsprechenden vorgeschriebenen Werten zu protokollieren. Die zu prüfenden Geräte sind so zu betreiben, dass in Bezug auf Hydraulik-Eingangsleistung und Öldurchfluss des Hammers mindestens 90% des Höchstwerts erreicht werden können.
Es ist besonders darauf zu achten, dass die Gesamtunsicherheit der Messketten ps und Q nicht mehr als ± 5% beträgt. Dadurch wird sichergestellt, dass die Hydraulik-Eingangsleistung mit einer Genauigkeit von ± 10% ermittelt wird. Unter Annahme einer linearen Korrelation zwischen der Hydraulik-Eingangsleistung und der emittierten Schallleistung würde dies eine Abweichung von weniger als ± 0,4 dB bei der Ermittlung des Schallleistungspegels bedeuten.
Einstellbare Bauteile, die sich auf die Geräteleistung auswirken
Die Voreinstellwerte von Druckspeichern, Druckregelventilen und anderen einstellbaren Bauteilen müssen den im Datenblatt angegebenen Werten entsprechen. Wenn mehr als eine feste Schlagzahl eingestellt werden kann, müssen die Messungen für alle Einstellungen durchgeführt werden. Mindest- und Höchstwerte sind anzugeben.
Messgrößen
ps | Mittelwert des Hydraulik-Versorgungsdrucks während des Hammerbetriebs über mindestens zehn Schlagvorgänge. |
Q | Mittelwert des zeitgleich mit ps gemessenen Öldurchflusses am Hammereinlass. |
T | Die Öltemperatur muss während der Messungen zwischen + 40 und + 60 °C liegen. Die Temperatur des Gehäuses des Hydraulikhammers muss sich vor Beginn der Messungen auf normaler Betriebstemperatur stabilisiert haben. |
Pa | Der Druck der Vorfüll-Gasladung in allen Druckspeichern muss bei einer stabilen Umgebungstemperatur zwischen + 15 und + 25 °C unter statischen Bedingungen (Hammer nicht in Betrieb) gemessen werden. Die gemessene Umgebungstemperatur wird ebenso protokolliert wie der gemessene Druck der Vorfüll-Gasladung im Druckspeicher. |
Anhand der gemessenen Betriebsparameter zu bestimmender Parameter:
Hydraulik-Eingangsleistung des Hammers PIN = ps . Q
Messung des Drucks in der Hydraulik-Versorgungsleitung ps
- ps | muss so nahe wie möglich am Einlass des Hammers gemessen werden |
- ps | ist mit einem Manometer zu messen (Mindestdurchmesser: 100 mm; Genauigkeitsklasse: ± 1,0% FSO) |
Öldurchfluss am Hammereinlass Q
- Q | muss in der Druckversorgungsleitung so nahe wie möglich am Einlass des Hammers gemessen werden. |
- Q | ist mit einem elektrischen Durchflussmesser zu messen (Genauigkeitsklasse: ± 2,5% des Durchflussablesewerts). |
Messpunkt für die Öltemperatur T
- T | muss im Ölspeicher der Halterung oder in der mit dem Hammer verbundenen Hydraulikleitung gemessen werden. Der Messpunkt ist im Prüfbericht anzugeben. | |
- | Die Genauigkeit des Temperaturablesewerts muss dem tatsächlichen Wert auf ± 2 °C entsprechen. | |
Beobachtungszeitraum/Ermittlung des Schallleistungspegels
Der Beobachtungszeitraum muss mindestens 15 s betragen.
Die Messungen werden dreimal ‑ bei Bedarf häufiger ‑ durchgeführt. Das Endergebnis wird als das arithmetische Mittel der zwei höchsten Werte errechnet, die um nicht mehr als 1 dB voneinander abweichen.
Abbildung 28.1
Abbildung 28.2
Legende:
1 | Hammer | 7 | Werkzeugdichtung |
2 | Messfläche | 8 | Stahlabdeckplatte |
3 | Führungen/Halterungen (fakultativ) | 9 | Freiraum |
4 | Ambossplatte | 10 | Rundumdichtung |
5 | Gründung (fakultativ) | 11 | Gummiplatte |
6 | Boden | 12 | Elastisches Material (fakultativ) |
Definitionen:
- dDurchmesser des Werkzeugs (mm)d1Durchmesser der Ambossplatte 1 200 ± 100 mmd2Innendurchmesser der Ambosshalterung ≤ 1 800 mmd3Durchmesser der Prüfblock-Abdeckplatte ≤ 2 200 mmd4Durchmesser der Werkzeugöffnung in der Platte ≤ 350 mmd5Durchmesser der Werkzeugdichtung ≤ 1 100 mmh1Sichtbare Werkzeuglänge zwischen dem untersten Punkt des Gehäuses und der Oberfläche der Werkzeugdichtung (mm) h1 ≤ d ± d/2h2Dicke der Werkzeugdichtung über der Abdeckplatte ≤ 20 mm (wenn sich die Werkzeugdichtung unterhalb der Abdeckplatte befindet, ist die Dicke der Dichtung nicht beschränkt; sie kann aus Schaumgummi bestehen)h3Abstand zwischen dem oberen Abschluss der Abdeckplatte und dem oberen Abschluss der Ambossplatte 250 ± 50 mmh4Dicke der Plattendichtung aus absorbierendem Schaumstoff ≤ 30 mmh5Dicke der Ambossplatte 350 ± 50 mmh6Eintauchtiefe des Werkzeugs ≤ 50 mm
Wenn der Prüfblock quadratische Form hat, entspricht die größte Länge dem 0,89fachen des entsprechenden Durchmessers.
Der Freiraum zwischen der Abdeckplatte und der Ambossplatte kann mit elastischem Schaumgummi oder einem anderen absorbierenden Material mit einer Dichte < 220 kg/m3 gefüllt werden.
29. HYDRAULIKAGGREGATE
Geräuschemissionsgrundnorm
EN ISO 3744:1995
Betriebsbedingungen während der Prüfung
Aufstellen der Geräte und Maschinen
Das Hydraulikaggregat ist auf der schallreflektierenden Fläche aufzustellen. Aggregate auf Gleitschienen sind auf einen 0,40 m hohen Träger zu stellen, wenn in der Anweisung des Herstellers nicht anders beschrieben.
Prüfung unter Last
Während der Prüfung dürfen keine Arbeitsaggregate an das Hydraulikaggregat angeschlossen sein.
Das Hydraulikaggregat ist in dem vom Hersteller angegebenen Bereich gleichförmig zu betreiben. Es muss auf Nenndrehzahl und mit Nenndruck laufen. Nenndrehzahl und Nenndruck sind der Betriebsanleitung des Herstellers zu entnehmen.
Beobachtungszeitraum
Der Beobachtungszeitraum muss mindestens 15 s betragen.
30. FUGENSCHNEIDER
Geräuschemissionsgrundnorm
EN ISO 3744:1995
Betriebsbedingungen während der Prüfung
Prüfung unter Last
Auf den Fugenschneider ist das größte vom Hersteller in der Betriebsanleitung vorgesehene Sägeblatt zu montieren. Der Motor ist mit Höchstdrehzahl zu betreiben, das Sägeblatt ist im Leerlauf.
Beobachtungszeitraum
Der Beobachtungszeitraum muss mindestens 15 s betragen.
31. MÜLLVERDICHTER
siehe Abschnitt 37
32. RASENMÄHER
Geräuschemissionsgrundnorm
EN ISO 3744:1995
Messumgebung
ISO 11094:1991
Im Streitfall sind die Messungen im Freien auf einem künstlichen Bodenbelag durchzuführen (ISO 11094:1991 Abschnitt 4.1.2).
Umgebungskorrektur K2A
Messungen im Freien
K2A = 0
Messungen in geschlossenen Räumen
Der Wert der Konstanten K2A, der ohne den künstlichen Bodenbelag gemäß Norm EN ISO 3744:1995 Anhang A ermittelt wird, muss ≤ 2,0 dB sein. In diesem Fall wird K2A vernachlässigt.
Messfläche/Anzahl der Mikrophonpositionen/Messabstand
ISO 11094:1991
Betriebsbedingungen während der Prüfung
Aufstellen der Geräte und Maschinen
Wenn die Räder des Rasenmähers den künstlichen Boden um mehr als 1 cm zusammendrücken würden, sind die Räder so auf Träger zu stellen, dass sich die Aufstandspunkte der Räder auf der Höhe des nicht zusammengedrückten künstlichen Bodens befinden. Kann das Schneideaggregat nicht getrennt von den Treibrädern des Rasenmähers in Betrieb genommen werden, so muss der Rasenmäher auf Trägern geprüft werden, wobei die Schneideaggregate mit der vom Hersteller angegebenen maximalen Drehzahl laufen. Die Träger sind so zu konstruieren, dass sie keinen Einfluss auf die Messergebnisse haben.
Prüfung ohne Last
ISO 11094:1991
Beobachtungszeitraum
ISO 11094:1991
33. RASENTRIMMER/RASENKANTENSCHNEIDER
siehe Abschnitt 32
Das Gerät ist durch eine geeignete Vorrichtung so aufzustellen, dass sich das Schneideaggregat über dem Mittelpunkt der Halbkugel befindet. Bei Rasentrimmern ist der Mittelpunkt des Schneideaggregats in einem Abstand von zirka 50 mm über der Messfläche zu halten. Im Hinblick auf die Anordnung der Schneidklingen sollten Rasenkantenschneider so nah wie möglich an der Messfläche positioniert werden.
34. LAUBBLÄSER
Geräuschemissionsgrundnorm
EN ISO 3744:1995
Messumgebung
ISO 11094:1991
Im Streitfall sind die Messungen im Freien auf einem künstlichen Bodenbelag durchzuführen (ISO 11094:1991 Abschnitt 4.1.2).
Umgebungskorrektur K2A
Messung im Freien
K2A = 0
Messungen in geschlossenen Räumen
Der Wert der Konstanten K2A, der ohne den künstlichen Bodenbelag gemäß der Norm EN ISO 3744:1995 Anhang A ermittelt wird, muss ≤ 2,0 dB sein. In diesem Fall wird K2A vernachlässigt.
Messfläche/Anzahl der Mikrophonpositionen/Messabstand
ISO 11094:1991
Betriebsbedingungen während der Prüfung
Aufstellen der Geräte und Maschinen
Der Laubbläser ist wie beim normalen Gebrauch so aufzustellen, dass der Auslass des Blasaggregats 50 ± 25 mm über dem Mittelpunkt der Halbkugel liegt. Handelt es sich um einen handgeführten Laubbläser, ist er entweder von einer Person in der Hand zu halten oder an einer geeigneten Vorrichtung anzubringen.
Prüfung unter Last
Der Laubbläser wird mit den vom Hersteller angegebenen Werten für Nenndrehzahl und Nennluftdurchsatz betrieben.
Beobachtungszeitraum
Der Beobachtungszeitraum muss mindestens 15 s betragen.
Anmerkung: | Kann ein Laubbläser auch als Laubsammler verwendet werden, so ist er in beiden Betriebsarten zu prüfen; maßgeblich ist der höhere Wert. |
35. LAUBSAMMLER
Geräuschemissionsgrundnorm
EN ISO 3744:1995
Messumgebung
ISO 11094:1991
Im Streitfall sind die Messungen im Freien auf einem künstlichen Bodenbelag durchzuführen (ISO 11094:1991 Abschnitt 4.1.2).
Umgebungskorrektur K2A
Messung im Freien
K 2A = 0
Messungen in geschlossenen Räumen
Der Wert der Konstanten K2A, der ohne den künstlichen Bodenbelag gemäß der Norm EN ISO 3744:1995 Anhang A ermittelt wird, muss ≤ 2,0 dB sein. In diesem Fall wird K2A vernachlässigt.
Messfläche/Anzahl der Mikrophonpositionen/Messabstand
ISO 11094:1991
Betriebsbedingungen während der Prüfung
Aufstellen der Geräte und Maschinen
Der Laubsammler ist wie beim normalen Gebrauch so aufzustellen, dass der Einlass des Laubsammlers 50 ± 25 mm über dem Mittelpunkt der Halbkugel liegt. Handelt es sich um einen handgeführten Laubsammler, so ist er entweder von einer Person zu halten oder an einer geeigneten Vorrichtung anzubringen.
Prüfung unter Last
Der Laubsammler wird mit den vom Hersteller angegebenen Werten für Nenndrehzahl und Nennluftdurchsatz betrieben.
Beobachtungszeitraum
Der Beobachtungszeitraum muss mindestens 15 s betragen.
Anmerkung: | Kann ein Laubsammler auch als Laubbläser verwendet werden, so ist er in beiden Betriebsarten zu prüfen; maßgeblich ist der höhere Wert. |
36. STAPLER
Geräuschemissionsgrundnorm
EN ISO 3744:1995
Betriebsbedingungen während der Prüfung
Die Sicherheitsvorschriften und die Angaben des Herstellers sind zu beachten.
Betriebsart „Heben“
Bei stehendem Stapler wird die Last (aus nichtschallabsorbierendem Werkstoff, zB Stahl oder Beton; mindestens 70% der in der Betriebsanleitung angegebenen effektiven Tragfähigkeit) aus der abgesenkten Stellung mit Höchstgeschwindigkeit auf die Normhubhöhe angehoben, die nach der einschlägigen europäischen Norm der Reihe „Sicherheit von Flurförderzeugen“ für den betreffenden Flurförderzeug-Typ gilt. Falls die tatsächliche maximale Hubhöhe geringer ist, darf bei Einzelmessungen diese Hubhöhe verwendet werden. Die Hubhöhe ist im Prüfbericht anzugeben.
Betriebsart „Fahren“
Der Stapler ist ohne Last aus dem Stillstand mit voller Beschleunigung über eine Entfernung seiner dreifachen Länge bis zur Linie A-A (Verbindungslinie zwischen den Mikrophonpositionen 4 und 6) und weiterhin mit maximaler Beschleunigung weiter bis zur Linie B-B (Verbindungslinie zwischen den Mikrophonpositionen 2 und 8) zu fahren. Wenn die Rückseite des Fahrzeugs die Linie B-B überschritten hat, darf die Beschleunigungsfahrt abgebrochen werden.
Besitzt der Stapler mehrere Getriebegänge, so müssen diese so gewählt werden, dass über die Messstrecke die höchstmögliche Geschwindigkeit erreicht wird.
Beobachtungszeitraum/Ermittlung der Schallleistungspegel bei verschiedenen Betriebsbedingungen
Beobachtungszeitraum:
Betriebsart „Heben“: | Der gesamte Hubzyklus. |
Betriebsart „Fahren“: | Die Messung beginnt, wenn das Fahrzeug mit seiner Mitte die Linie A-A überfährt, und endet, wenn es mit seiner Mitte die Linie B-B erreicht. |
Der resultierende Schallleistungspegel wird für alle Staplerarten wie folgt berechnet:
LWA = 10 log (0.7 × 100,1 LWAc + 0.3 × 100,1 LWAa)
Dabei bezeichnet der Index a den Hubbetrieb und der Index c den Fahrbetrieb.
37. LADER
Geräuschemissionsgrundnorm
EN ISO 3744:1995
Messumgebung
ISO 6395:1988
Messfläche/Anzahl der Mikrophonpositionen/Messabstand
ISO 6395:1988
Betriebsbedingungen während der Prüfung
Aufstellen der Geräte und Maschinen
Raupenlader sind auf einem Prüfgelände zu prüfen, das Abschnitt 6.3.3 der Norm ISO 6395:1988 entspricht.
Prüfung unter Last
ISO 6395:1988 Anhang C
Beobachtungszeitraum/Ermittlung der Schallleistungspegel bei verschiedenen Betriebsbedingungen
ISO 6395:1988 Anhang C
38. MOBILKRÄNE
Geräuschemissionsgrundnorm
EN ISO 3744:1995
Betriebsbedingungen während der Prüfung
Aufstellen der Geräte und Maschinen
Wenn der Mobilkran mit Stützarmen ausgerüstet ist, sind diese vollständig auszufahren, und der Mobilkran ist in mittlerer Stützhöhe horizontal auszurichten.
Prüfung unter Last
Der zu prüfende Mobilkran ist in der Standardversion entsprechend den Angaben des Herstellers vorzuführen. Zur Ermittlung der Geräuschemissionen wird die Nennleistung des für den Kranbetrieb verwendeten Motors berücksichtigt. Auf den drehbaren Oberwagen wird das maximal zulässige Gegengewicht aufgesetzt.
Vor den Messungen werden Motor und Hydrauliksystem des Mobilkrans entsprechend den Anweisungen des Herstellers auf normale Betriebstemperatur gebracht; ferner sind alle in der Betriebsanleitung angegebenen relevanten Sicherheitsvorkehrungen zu treffen.
Wenn der Mobilkran über mehrere Motoren verfügt, ist der Motor für den Kranbetrieb in Betrieb zu nehmen, während der Motor des Trägerfahrzeugs stillzusetzen ist.
Wenn der Motor des Mobilkrans mit einem Gebläse ausgerüstet ist, wird das Gebläse während der Prüfung betrieben. Falls mehrere Einstellungen möglich sind, ist das Gebläse während der Prüfung mit Höchstdrehzahl zu betreiben.
Die Messungen erfolgen für die folgenden 3 (a-c) bzw. 4 (a-d) Betriebsarten:
Für alle Betriebsarten gelten folgende Bedingungen:
- -Motordrehzahl bei 3/4 der für Kranbetrieb angegebenen Höchstdrehzahl mit einer zulässigen Abweichung von ± 2%.-Beschleunigung und Verzögerung mit Höchstwert ohne gefährliche Bewegungen der Last oder der Unterflasche.-Bewegungen mit größtmöglicher Geschwindigkeit unter den gegebenen Bedingungen entsprechend den Angaben in der Betriebsanleitung.
a) Heben und Senken einer Last
Der Mobilkran hebt eine Last, die 50% der Höchstbelastung des Seils ausmacht. Die Prüfung umfasst das Anheben der Last und das unmittelbar anschließende Herabsenken auf die Ausgangsposition. Die Auslegerlänge ist so zu wählen, dass die gesamte Prüfung 15 bis 20 s dauert.
b) Schwenken
Der Oberwagen wird um 90° nach links geschwenkt und unmittelbar anschließend wieder in die Ausgangsposition gebracht, wobei sich der Ausleger in einem Winkel von 40° bis 50° zur Waagrechten befindet und keine Last trägt. Der Teleskopausleger ist so weit wie möglich eingezogen. Der Beobachtungszeitraum erstreckt sich über die erforderliche Dauer zur Ausführung des Betriebszyklus.
c) Heben und Senken des Auslegers
Zu Beginn der Prüfung wird der Ausleger aus der niedrigsten Betriebsstellung angehoben und unmittelbar anschließend wieder in die Ausgangsposition gebracht. Die Bewegung erfolgt ohne Last. Die Dauer der Prüfung beträgt 20 s.
d) Teleskopieren (falls anwendbar)
Der vollständig eingezogene Ausleger steht in einem Winkel von 40° bis 50° zur Waagrechten und trägt keine Last; der Teleskopzylinder des ersten Teleskopteils wird zusammen mit dem ersten Teleskopteil auf volle Länge ausgefahren und unmittelbar anschließend zusammen mit dem ersten Teleskopteil wieder eingezogen.
Beobachtungszeitraum/Ermittlung der Schallleistungspegel bei verschiedenen Betriebsbedingungen
Der Schallleistungspegel wird wie folgt berechnet:
iii) mit Teleskopieren (falls anwendbar)
LWA = 10 log (0,4 × 100,1LWAa + 0,25 × 100,1LWAb + 0,25 × 100,1LWAc + 0,1 × 100,1LWAd)
iv) ohne Teleskopieren
LWA = 10 log (0,4 × 100,1LWAa + 0,3 × 100,1LWAb + 0,3 × 100,1LWAc)
Dabei ist
- LWAader Schallleistungspegel für den Betriebszyklus „Heben und Senken einer Last“LWAbder Schallleistungspegel für den Betriebszyklus „Schwenken“LWAcder Schallleistungspegel für den Betriebszyklus „Heben und Senken des Auslegers“LWAdder Schallleistungspegel für den Betriebszyklus „Teleskopieren“ (falls anwendbar)
39. ROLLBARE MÜLLBEHÄLTER
Geräuschemissionsgrundnorm
EN ISO 3744:1995
Messumgebung
- Schallreflektierende Fläche aus Beton oder nichtporösem Asphalt
- Laborraum mit einem Freifeld über einer schallreflektierenden Fläche
Umgebungskorrektur K2A
Messung im Freien
K2A = 0
Messung in geschlossenen Räumen
Der Wert der Konstanten K2A, der gemäß Norm EN ISO 3744:1995 Anhang A ermittelt wird, muss ≤ 2,0 dB sein. In diesem Fall wird K2A vernachlässigt.
Messfläche/Anzahl der Mikrophonpositionen/Messabstand
Halbkugel/6 Mikrophonpositionen gemäß Teil A Nummer 5/r = 3 m
Betriebsbedingungen während der Prüfung
Alle Messungen sind an einem leeren Behälter durchzuführen.
Prüfung 1: Zufallen des Deckels
Um den Einfluss der Bedienungsperson auf die Messungen so gering wie möglich zu halten, muss diese hinter dem Behälter (Scharnierseite) stehen. Die Bedienungsperson hält den Deckel vor dessen Freigabe in der Mitte, um Verwindungsbewegungen des Deckels beim Zufallen zu verhindern.
Die Messung erfolgt während des folgenden Zyklus, der 20-mal durchgeführt wird:
- -Zunächst wird der Deckel senkrecht angehoben.-Der Deckel wird ohne Stoß nach vorn freigegeben, wobei die Bedienungsperson an ihrer Position hinter dem Behälter verbleibt, bis der Deckel geschlossen ist.-Wenn der Deckel vollständig geschlossen ist, wird er in seine Ausgangslage angehoben.
Anmerkung: | Die Bedienungsperson kann ihre Position erforderlichenfalls vorübergehend verlassen, um den Deckel anzuheben. |
Prüfung 2: Vollständiges Öffnen des Deckels nach hinten
Um den Einfluss der Bedienungsperson auf die Messungen so gering wie möglich zu halten, muss diese bei Behältern mit vier Rädern auf Messungen hinter dem Behälter (Scharnierseite) und bei Behältern mit zwei Rädern rechts neben dem Behälter (zwischen Mikrophonposition 10 und Mikrophonposition 12) stehen. Die Bedienungsperson hält den Deckel vor dessen Freigabe in der Mitte oder so nahe wie möglich an dessen Mitte.
Um jegliche Bewegung des Behälters auszuschließen, werden die Räder für die Dauer der Prüfung arretiert. Um ein Rückprallen von Behältern mit zwei Rädern zu verhindern, kann die Bedienungsperson den Behälter an der Oberkante mit der Hand festhalten.
Die Messung erfolgt während des folgenden Zyklus:
- -Zunächst wird der Deckel horizontal (nach hinten) geöffnet.-Der Deckel wird ohne Stoß freigegeben.-Wenn der Deckel vollständig geöffnet ist, wird er, noch bevor er an der Behälterwand anschlägt, in seine Ausgangslage angehoben.
Prüfung 3: Rollen des Behälters über eine unregelmäßige Prüfstrecke
Es wird eine Prüfstrecke verwendet, die eine unregelmäßige Oberfläche nachbildet. Die Prüfstrecke umfasst zwei parallele Streifen, die mit Maschendraht belegt sind (Länge 6 m, Breite 400 mm), die im Abstand von jeweils 20 cm auf der schallreflektierenden Fläche befestigt sind. Der Abstand zwischen den beiden Streifen wird entsprechend dem Behältertyp eingestellt, damit die Räder über die gesamte Länge der Prüfstrecke auf den Streifen laufen. Die Anordnung ist so zu wählen, dass eine ebene Strecke entsteht. Bei Bedarf wird die Prüfbahn mit elastischem Material am Boden befestigt, um die Entstehung von Störgeräuschen zu verhindern.
Anmerkung: | Es ist zulässig, die Laufstreifen aus verschiedenen, 400 mm breiten Elementen zusammenzusetzen. |
Abbildungen 39.1 und 39.2 zeigen ein Beispiel einer geeigneten Prüfstrecke.
Die Bedienungsperson befindet sich auf der Scharnierseite.
Die Messung erfolgt, während die Bedienungsperson den Behälter mit einer konstanten Geschwindigkeit von zirka 1 m/s zwischen den Punkten A und B (Abstand 4,24 m ‑ siehe Abbildung 39.3) über die Prüfstrecke zieht, und zwar ab dem Zeitpunkt, zu dem bei Behältern mit zwei Rädern die Radachse ‑ bei Behältern mit vier Rädern die erste Radachse ‑ den Punkt A erreicht, bis zum Erreichen des Punkts B mit derselben Achse. Diese Prüfung wird in jede Richtung drei Mal durchgeführt.
Bei Behältern mit zwei Rädern beträgt der Winkel zwischen dem Behälter und der Laufbahn während der Prüfung 45°. Bei Behältern mit vier Rädern muss die Bedienungsperson dafür sorgen, dass alle Räder angemessenen Kontakt mit der Laufbahn haben.
Beobachtungszeitraum/Ermittlung der Schallleistungspegel bei verschiedenen Betriebsbedingungen
Prüfung 1 und 2: Zufallen des Deckels und vollständiges Öffnen des Deckels nach hinten
Die Messungen werden nach Möglichkeit gleichzeitig an den sechs Mikrophonpositionen vorgenommen. Ansonsten werden die an jeder Mikrophonposition gemessenen Schallleistungspegel in aufsteigender Reihenfolge klassifiziert und die Schallleistungspegel durch Zuordnung der Werte jeder Mikrophonposition der einzelnen Reihen ermittelt.
Der A-bewertete Einzelereignis-Schalldruckpegel wird für jeden der 20 Schließvorgänge und der 20 Öffnungsvorgänge an jedem einzelnen Messpunkt gemessen. Die Schallleistungspegel LWAschließen und LWAöffnen werden aus dem quadratischen Mittelwert der fünf höchsten erzielten Werte berechnet.
Prüfung 3: Rollen des Behälters über eine unregelmäßige Prüfstrecke
Der Beobachtungszeitraum T entspricht der Zeit, die für das Zurücklegen des Abstands zwischen den Punkten A und B auf der Prüfstrecke erforderlich ist.
Der Schallleistungspegel LWArollen entspricht dem Mittelwert von sechs Werten, die um weniger als 2 dB voneinander abweichen. Kann dieses Kriterium mit sechs Messungen nicht erfüllt werden, wird der Prüfzyklus soweit erforderlich wiederholt.
Der Schallleistungspegel wird wie folgt berechnet:
Abbildung 39.1
Abbildung 39.2
Abbildung 39.3
40. MOTORHACKEN
siehe Abschnitt 32
Das Aggregat ist während der Messung abzukoppeln.
41. STRASSENFERTIGER
Geräuschemissionsgrundnorm
EN ISO 3744:1995
Betriebsbedingungen während der Prüfung
Prüfung unter Last
Der Motor der Maschine ist mit der vom Hersteller angegebenen Nenndrehzahl zu betreiben. Sämtliche Geräteteile sind in Betrieb zu nehmen und wie folgt zu betreiben:
Fördersystem | mindestens 10% des Höchstwerts |
Verteilungssystem | mindestens 40% des Höchstwerts |
Stampfer (Drehzahl, Schläge) | mindestens 50% des Höchstwerts |
Vibrationseinrichtung (Drehzahl, Rüttlerunwucht) | mindestens 50% des Höchstwerts |
Druckbalken (Frequenz, Druck) | mindestens 50% des Höchstwerts |
Beobachtungszeitraum
Der Beobachtungszeitraum muss mindestens 15 s betragen.
42. RAMMAUSRÜSTUNGEN
Geräuschemissionsgrundnorm
EN ISO 3744:1995
Messumgebung
ISO 6395:1988
Betriebsbedingungen während der Prüfung
Prüfung unter Last
Die Rammausrüstung wird oben auf einem Rammelement angebracht, wobei ein ausreichender Bodenwiderstand für den Betrieb der Einrichtung mit gleichmäßiger Geschwindigkeit gegeben sein muss.
Im Falle von Schlaghämmern muss die Pfahlkappe mit einer neuen, aus Holz bestehenden Füllung versehen sein.
Das obere Ende des Rammelements befindet sich 0,50 m über der Messumgebung.
Beobachtungszeitraum
Der Beobachtungszeitraum muss mindestens 15 s betragen.
43. ROHRLEGER
siehe Abschnitt 0
44. PISTENRAUPEN
siehe Abschnitt 0
45. KRAFTSTROMERZEUGER
Geräuschemissionsgrundnorm
EN ISO 3744:1995
Umgebungskorrektur K2A
Messung im Freien
K2A = 0
Messung in geschlossenen Räumen
Der Wert der Konstanten K2A, der gemäß Norm EN ISO 3744:1995 Anhang A ermittelt wird, muss ≤ 2,0 dB sein. In diesem Fall wird K2A vernachlässigt.
Messfläche/Anzahl der Mikrophonpositionen/Messabstand
Halbkugel/6 Mikrophonpositionen gemäß Teil A Nummer 5/gemäß Teil A Nummer 5
Wenn l > 2 m, kann ein Quader gemäß EN ISO 3744:1995 mit einem Messabstand von d = 1 m verwendet werden.
Betriebsbedingungen während der Prüfung
Aufstellen der Geräte und Maschinen
Die Kraftstromerzeuger sind auf der schallreflektierenden Fläche aufzustellen. Maschinen auf Gleitschienen sind auf einen 0,40 m hohen Träger zu stellen, wenn in der Anweisung des Herstellers nicht anders beschrieben.
Prüfung unter Last
ISO 8528-10:1998 Abschnitt 9
Beobachtungszeitraum
Der Beobachtungszeitraum muss mindestens 15 s betragen.
46. KEHRMASCHINEN
Geräuschemissionsgrundnorm
EN ISO 3744:1995
Betriebsbedingungen während der Prüfung
Prüfung unter Last
Die Kehrmaschine ist im Stillstand zu prüfen. Der Hauptantrieb und die Zusatzaggregate sind mit der Drehzahl zu betreiben, die der Hersteller für den Betrieb der Arbeitsaggregate angegeben hat. Der Besen wird mit Höchstgeschwindigkeit betrieben, wobei er mit dem Boden nicht in Berührung kommt. Das Ansaugsystem ist mit maximaler Saugkraft zu betreiben, wobei der Abstand zwischen Boden und Einlass des Saugsystems nicht mehr als 25 mm betragen darf.
Beobachtungszeitraum
Der Beobachtungszeitraum muss mindestens 15 s betragen.
47. MÜLLSAMMELFAHRZEUGE
Geräuschemissionsgrundnorm
EN ISO 3744:1995
Betriebsbedingungen während der Prüfung
Prüfung unter Last
Das Müllfahrzeug wird im Stand in den folgenden Betriebsarten geprüft:
- 1.Der Motor ist mit der vom Hersteller angegebenen Höchstdrehzahl zu betreiben. Die Arbeitsaggregate sind nicht in Betrieb. Diese Prüfung entfällt bei Fahrzeugen mit ausschließlich elektrischem Antrieb.2.Das Verdichtungssystem ist in Betrieb.
Länge: | 150 mm ± 0,5 mm | ||
Nenn-Außendurchmesser: | 90 mm + 0,3/- 0 mm | ||
Nenndicke: | 6,7 mm + 0,9/- 0 mm | ||
Beobachtungszeitraum/Ermittlung der Schallleistungspegel bei verschiedenen Betriebsbedingungen
Beobachtungszeitraum:
- 5.Mindestens 15 s. Der hierbei ermittelte Schallleistungspegel ist LWA1.6.Mindestens drei vollständige Zyklen, wenn das Verdichtungssystem automatisch arbeitet. Wenn das Verdichtungssystem nicht automatisch, sondern zyklusabhängig arbeitet, werden die Messungen während mindestens drei Zyklen durchgeführt. Der hierbei ermittelte Schallleistungspegel (LWA2) ist der quadratische Mittelwert der drei (oder mehr) Messungen.7.Mindestens drei kontinuierliche vollständige Betriebszyklen einschließlich des vollständigen Anhebens und Absenkens der Schüttvorrichtung. Der hierbei ermittelte Schallleistungspegel (LWA3) ist der quadratische Mittelwert der drei (oder mehr) Messungen.8.Mindestens drei vollständige Betriebszyklen, wobei jeweils 30 Rohre in den Aufnahmebehälter entleert werden. Jeder Zyklus darf höchstens 5 s betragen. Bei diesen Messungen wird LpAeq,T durch LpA,1s ersetzt. Der hierbei ermittelte Schallleistungspegel (LWA4) ist der quadratische Mittelwert der drei (oder mehr) Messungen.
48. STRASSENFRÄSEN
Geräuschemissionsgrundnorm
EN ISO 3744:1995
Betriebsbedingungen während der Prüfung
Aufstellen der Maschinen
Die Längsachse der Straßenfräse muss parallel zur y-Achse sein.
Prüfung unter Last
Die Straßenfräse ist in dem in der Betriebsanleitung angegebenen Bereich gleichförmig zu betreiben. Der Motor und sämtliche Aggregate sind mit den jeweiligen Drehzahlen für den Leerlaufbetrieb zu betreiben.
Beobachtungszeitraum
Der Beobachtungszeitraum muss mindestens 15 s betragen.
49. VERTIKUTIERER
Geräuschemissionsgrundnorm
EN ISO 3744:1995
Messumgebung
ISO 11094:1991
Im Streitfall sind die Messungen im Freien auf einem künstlichen Bodenbelag durchzuführen (ISO 11094:1991 Abschnitt 4.1.2).
Umgebungskorrektur K 2A
Messung im Freien
K2A = 0
Messungen in geschlossenen Räumen
Der Wert der Konstanten K2A, der ohne den künstlichen Bodenbelag gemäß Norm EN ISO 3744:1995 Anhang A ermittelt wird, muss ≤ 2,0 dB sein. In diesem Fall wird K2A vernachlässigt.
Messfläche/Anzahl der Mikrophonpositionen/Messabstand
ISO 11094:1991
Betriebsbedingungen während der Prüfung
Prüfung unter Last
Der Vertikutierer ist mit Nenndrehzahl zu betreiben, die Arbeitsaggregate sind im Leerlauf (eingeschaltet, aber nicht im Aufreissbetrieb).
Beobachtungszeitraum
Der Beobachtungszeitraum muss mindestens 15 s betragen.
50. SCHREDDER/ZERKLEINERER
Geräuschemissionsgrundnorm
EN ISO 3744:1995
Messumgebung
ISO 11094:1991
Umgebungskorrektur K 2A
Messung im Freien
K2A = 0
Messungen in geschlossenen Räumen
Der Wert der Konstanten K2A, der ohne den künstlichen Bodenbelag gemäß Norm EN ISO 3744:1995 Anhang A ermittelt wird, muss ≤ 2,0 dB sein. In diesem Fall wird K2A vernachlässigt.
Messfläche/Anzahl der Mikrophonpositionen/Messabstand
ISO 11094:1991
Betriebsbedingungen während der Prüfung
Prüfung unter Last
Der Schredder/Zerkleinerer ist beim Zerkleinern von einem oder mehreren Holzstücken zu prüfen.
Der Arbeitsgang besteht aus dem Zerkleinern eines runden Holzstabes (trockene Kiefer oder Sperrholz) von mindestens 1,5 m Länge, der an einem Ende angespitzt ist. Der Durchmesser des Stabes entspricht annähernd dem in der Betriebsanleitung angegebenen Höchstwert, für den das Gerät ausgelegt ist.
Beobachtungszeitraum/Ermittlung des Schallleistungspegels
Der Beobachtungszeitraum endet, wenn sich kein Material mehr in den Zerkleinerungsvorrichtungen befindet, spätestens aber nach 20 s. Sind beide Betriebsbedingungen möglich, ist der höhere Schallleistungspegel zu berücksichtigen.
51. SCHNEEFRÄSEN
Geräuschemissionsgrundnorm
EN ISO 3744:1995
Betriebsbedingungen während der Prüfung
Prüfung unter Last
Die Schneefräse wird im Stillstand geprüft. Sie ist nach den Empfehlungen des Herstellers bei Höchstdrehzahl der Arbeitsaggregate und mit entsprechender Motordrehzahl zu betreiben.
Beobachtungszeitraum
Der Beobachtungszeitraum muss mindestens 15 s betragen.
52. SAUGFAHRZEUGE
Geräuschemissionsgrundnorm
EN ISO 3744:1995
Betriebsbedingungen während der Prüfung
Prüfung unter Last
Das Saugfahrzeug ist im Stillstand zu prüfen. Der Hauptantrieb und die Zusatzaggregate sind mit der Drehzahl zu betreiben, die der Hersteller für den Betrieb der Arbeitsaggregate angegeben hat. Die Vakuumpumpe(n) ist (sind) mit Höchstleistung zu betreiben. Das Saugaggregat ist so zu betreiben, dass der Innendruck gleich dem atmosphärischen Druck ist („0% Vakuum“). Die Strömungsgeräusche der Saugdüse dürfen die Ergebnisse der Messungen nicht beeinflussen.
Beobachtungszeitraum
Der Beobachtungszeitraum muss mindestens 15 s betragen.
53. TURMDREHKRÄNE
Geräuschemissionsgrundnorm
EN ISO 3744:1995
Messfläche/Anzahl der Mikrophonpositionen/Messabstand
Messungen am Boden
Halbkugel/6 Mikrophonpositionen gemäß Teil A Nummer 5/gemäß Teil A Nummer 5
Messungen auf Höhe des Auslegers
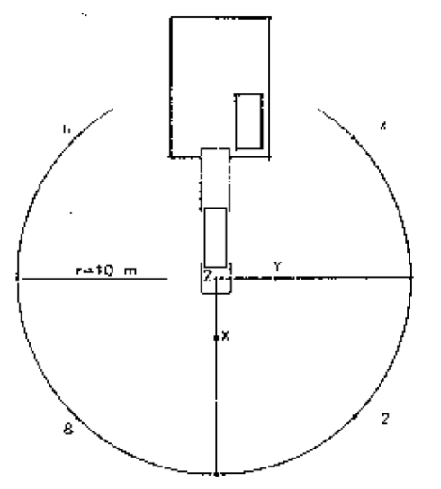
Befindet sich das Hubwerk auf der Höhe des Auslegers, so ist die Messfläche eine Kugel mit einem Radius von 4 m, deren Mittelpunkt mit dem geometrischen Mittelpunkt des Hubwerks zusammenfällt.
Werden die Messungen vorgenommen, wenn sich das Hubwerk auf dem Träger des Kranauslegers befindet, dann ist die Messfläche eine Kugel; S ist 200 m2.
Die Mikrophonpositionen sind wie folgt (siehe Abbildung 53.1):
Vier Mikrophonpositionen auf einer horizontalen Ebene, auf der der geometrische Mittelpunkt des Hubwerks liegt (H = h/2).
Hierbei gilt:
L = 2.80 m
d = 2.80 m ‑ l/2
L = halber Abstand zwischen zwei aufeinander folgenden Mikrophonpositionen; l = Länge des Hubwerks (entlang der Achse des Auslegers); b = Breite des Hubwerks; h = Höhe des Hubwerks; d = Abstand zwischen Mikrophonträger und dem Hubwerk in Richtung Ausleger.
Die beiden anderen Mikrophonpositionen befinden sich an den Schnittpunkten der Kugel mit der Vertikalen durch den geometrischen Mittelpunkt des Hubwerks.
Betriebsbedingungen während der Prüfung
Aufstellen der Geräte und Maschinen
Messung der Geräuschemission des Hubwerks
Das Hubwerk ist bei der Messung in eine der folgenden Positionen zu bringen. Die Position ist im Prüfprotokoll zu beschreiben.
- a)Hubwerk am Boden
Messung der Geräuschemission des Kraftstromerzeugers
Ist der Kraftstromerzeuger ‑ gleichgültig, ob mit dem Hubwerk verbunden oder nicht ‑ am Kran befestigt, so ist der Kran auf einer schallreflektierenden, ebenen Fläche aus Beton oder nichtporösem Asphalt aufzustellen.
Befindet sich das Hubwerk auf dem Gegenausleger, so kann die Geräuschmessung vorgenommen werden, wenn das Hubwerk auf dem Gegenausleger montiert oder am Boden befestigt ist.
Ist die Kraftmaschine vom Kran unabhängig (Stromaggregat, Netz, Hydraulik, Kompressor), so wird nur die Schallemission des Hubwerks gemessen.
Ist die Kraftmaschine auf dem Kran montiert, so werden diese und das Hubwerk getrennt gemessen, wenn sie keine Einheit bilden. Bilden sie eine Einheit, so wird die gesamte Einheit gemessen.
Für die Schallmessung sind Hubwerk und Kraftmaschine wie vom Hersteller angegeben zu montieren und zu betreiben.
Prüfung ohne Last
Der eingebaute Kraftstromerzeuger des Krans wird mit der vom Hersteller angegebenen Höchstdrehzahl betrieben.
Das Hubwerk ist ohne Last mit der Drehzahl der Trommel, die der maximalen Hub- und Senkgeschwindigkeit des Hakens entspricht, zu betreiben. Diese Geschwindigkeit ist vom Hersteller anzugeben. Der höhere der beiden Schallleistungspegel (Hub- oder Senkbewegung) wird für die Darstellung der Ergebnisse verwendet.
Prüfung unter Last
Der eingebaute Kraftstromerzeuger des Krans wird mit der vom Hersteller angegebenen höchsten Drehzahl betrieben. Das Hubwerk ist mit der Kabelspannung an der Trommel, die der maximalen Last (bei geringster Auslegung) entspricht, bei maximaler Hub- und Senkgeschwindigkeit des Hakens zu betreiben. Die Last- und Geschwindigkeitswerte sind vom Hersteller anzugeben. Der Geschwindigkeitswert ist während der Prüfung zu kontrollieren.
Beobachtungszeitraum/Ermittlung der Schallleistungspegel bei verschiedenen Betriebsbedingungen
Für die Messung der Schalldruckpegel des Hubwerks beträgt die Messdauer (tr + tf) Sekunden.
Dabei ist
- -tr die Zeit in Sekunden vor dem Bremsimpuls, wobei das Hubwerk wie vorstehend beschrieben betrieben wird; für die Messungen beträgt tr = 3 Sekunden.-tf die Zeit in Sekunden zwischen dem Bremsimpuls und dem Stillstand des Hakens.
Bei Verwendung eines Integrators muss die Integrationszeit gleich (tr + tf) Sekunden sein.
Der quadratische Mittelwert an der Mikrophonposition i errechnet sich wie folgt:
Lpi = 10 lg [(tr 100,1Lri + tf °100,1Lfi)/(tr + tf)]
Dabei ist
- -Lri der Schalldruckpegel an der Mikrophonposition i während der Zeit tr.-Lfi der Schalldruckpegel an der Mikrophonposition während der Bremszeit tf.
Abbildung 53.1
54. GRABENFRÄSEN
Siehe Abschnitt 0
55. TRANSPORTBETONMISCHER
Geräuschemissionsgrundnorm
EN ISO 3744:1995
Betriebsbedingungen während der Prüfung
Prüfung unter Last
Der Transportbetonmischer ist im Stand zu prüfen. Die Trommel wird bis zum Erreichen des Nenninhalts mit Beton von mittlerer Konsistenz (Ausbreitungsmaß 42 bis 47 cm) gefüllt. Der Antrieb der Trommel läuft mit der Drehzahl, bei der die Trommel die höchste in der Bedienungsanleitung angegebene Drehgeschwindigkeit erreicht.
Beobachtungszeitraum
Der Beobachtungszeitraum muss mindestens 15 s betragen.
56. WASSERPUMPEN
Geräuschemissionsgrundnorm
EN ISO 3744:1995
Messfläche/Anzahl der Mikrophonpositionen/Messabstand
Quader/gemäß EN ISO 3744:1995 bei einem Messabstand d = 1 m
Betriebsbedingungen während der Prüfung
Aufstellen der Geräte und Maschinen
Die Wasserpumpe wird auf der schallreflektierenden Fläche aufgestellt. Wasserpumpen auf Gleitschienen sind auf einen 0,40 m hohen Träger zu stellen, wenn in der Anweisung des Herstellers nicht anders beschrieben.
Prüfung unter Last
Der Motor ist mit dem vom Hersteller angegebenen höchsten Wirkungsgrad zu betreiben.
Beobachtungszeitraum
Der Beobachtungszeitraum muss mindestens 15 s betragen.
57. SCHWEISSSTROMERZEUGER
Geräuschemissionsgrundnorm
EN ISO 3744:1995
Umgebungskorrektur K2A
Messung im Freien
K 2A = 0
Messung in geschlossenen Räumen
Der Wert der Konstanten K2A, der gemäß Norm EN ISO 3744:1995 Anhang A ermittelt wird, muss zwischen 0,5 und 2,0 dB liegen. In diesem Fall wird K2A vernachlässigt.
Messfläche/Anzahl der Mikrophonpositionen/Messabstand
Halbkugel/6 Mikrophonpositionen gemäß Teil A Nummer 5/gemäß Teil A Nummer 5
Wenn l > 2 m, kann ein Quader gemäß EN ISO 3744:1995 bei einem Messabstand von d = 1 m verwendet werden.
Betriebsbedingungen während der Prüfung
Aufstellen der Geräte und Maschinen
Der Schweißstromerzeuger wird auf der schallreflektierenden Fläche aufgestellt. Schweißstromerzeuger auf Gleitschienen sind auf einen 0,40 m hohen Träger zu stellen, wenn in der Anweisung des Herstellers nicht anders beschrieben.
Prüfung unter Last
ISO 8528-10:1998 Abschnitt 9
Beobachtungszeitraum
Der Beobachtungszeitraum muss mindestens 15 s betragen.
________________________________
*) „Nutzleistung“: die Leistung in „EWG-Kilowatt (kW)“, abgenommen auf dem Prüfstand am Ende der Kurbelwelle oder einem entsprechenden Bauteil und ermittelt nach dem EWG-Verfahren zur Messung der Leistung von Verbrennungsmotoren für Kraftfahrzeuge, wobei jedoch die Leistung des Motorkühlgebläses ausgeschlossen wird.
Zusatzdokumente: image001, image002, image003, image004, image005, image006, image007, image008, image009, image010, image011, image012
Lizenziert vom RIS (ris.bka.gv.at - CC BY 4.0 DEED)
