ANLAGE 4
VORSCHRIFTEN ÜBER DIE TECHNISCHEN BEDINGUNGEN FÜR BEHÄLTER, DIE ZUM INTERNATIONALEN TRANSPORT UNTER ZOLLVERSCHLUSS ZUGELASSEN WERDEN KÖNNEN
Artikel 1
Grundsätze
Zum internationalen Warentransport unter Zollverschluß werden nur Behälter zugelassen, die so gebaut und eingerichtet sind, daß
- a) dem zollamtlich verschlossenen Teil des Behälters keine Waren entnommen oder in ihn hineingebracht werden können, ohne sichtbare Spuren des Aufbrechens zu hinterlassen oder den Zollverschluß zu verletzen;
- b) Zollverschlüsse auf einfache und wirksame Weise angebracht werden können;
- c) sie keine Verstecke enthalten, in denen Waren verborgen werden können;
- d) alle zur Aufnahme von Waren geeigneten Räume für die Zollkontrolle leicht zugänglich sind.
Bauart der Behälter
(1) Damit die Behälter den Bestimmungen des Artikels 1 dieser Vorschriften entsprechen, gilt folgendes:
- a) Die Bestandteile des Behälters (Wände, Boden, Türen, Dach, Pfosten, Rahmen, Querträger usw.) müssen entweder durch Vorrichtungen, die von außen nicht entfernt und wieder angebracht werden können, ohne sichtbare Spuren zu hinterlassen, oder durch eine Konstruktion zusammengefügt sein, die ohne Hinterlassung sichtbarer Spuren nicht verändert werden kann. Bestehen Wände, Boden, Türen und Dach aus verschiedenen Bauteilen, so müssen diese den gleichen Erfordernissen entsprechen und genügend widerstandsfähig sein.
- b) Türen und alle anderen Abschlußeinrichtungen (einschließlich Hähne, Mannlochdeckel, Flanschen usw.) müssen mit einer Vorrichtung versehen sein, an der ein Zollverschluß angebracht werden kann. Diese Vorrichtung muß so beschaffen sein, daß sie von außen nicht entfernt und wieder angebracht werden kann, ohne sichtbare Spuren zu hinterlassen und die Tür oder Abschlußeinrichtung nicht geöffnet werden kann, ohne den Zollverschluß zu verletzen. Dieser muß ausreichend geschützt sein. Schiebedächer sind zulässig.
- c) Lüftungs- und Abflußöffnungen sind mit einer Vorrichtung zu versehen, die den Zugang zum Inneren des Behälters verhindert. Diese Vorrichtung muß so beschaffen sein, daß sie von außen nicht entfernt und wieder angebracht werden kann, ohne sichtbare Spuren zu hinterlassen.
(2) Ungeachtet des Artikels 1 lit. c dieser Vorschriften sind Behälterbestandteile, die aus praktischen Gründen Hohlräume enthalten müssen (z. B. zwischen den Wandungen von Doppelwänden), zulässig. Damit die Hohlräume nicht als Warenversteck benutzt werden können,
- i) darf die innere Verkleidung des Behälters nicht entfernt und wieder angebracht werden können, ohne sichtbare Spuren zu hinterlassen, oder
- ii) müssen die Hohlräume auf eine Mindestzahl beschränkt und für die Zollkontrolle leicht zugänglich sein.
Zusammenklappbare oder zerlegbare Behälter
Die Artikel 1 und 2 dieser Vorschriften gelten auch für zusammenklappbare oder zerlegbare Behälter; diese müssen darüber hinaus mit einer Verriegelungsvorrichtung versehen sein, die die einzelnen Teile des Behälters nach seiner Montage feststellt. Die Verriegelungsvorrichtung muß zollamtlich verschlossen werden können, wenn sie sich außerhalb des montierten Behälters befindet.
Behälter mit Schutzdecken
(1) Die Artikel 1 bis 3 dieser Vorschriften gelten auch für Behälter mit Schutzdecken, soweit sie darauf anwendbar sind. Außerdem müssen diese Behälter den Bestimmungen dieses Artikels entsprechen.
(2) Die Schutzdecke muß entweder aus starkem Segeltuch oder aus nicht dehnbarem, genügend widerstandsfähigem kunststoff- oder kautschukbeschichtetem Gewebe bestehen. Sie muß in gutem Zustand und so hergerichtet sein, daß nach Anlegen der Verschlußvorrichtung ein Zugang zur Ladung nicht möglich ist, ohne sichtbare Spuren zu hinterlassen.
(3) Ist die Schutzdecke aus mehreren Stücken zusammengesetzt, so müssen die Ränder der Stücke ineinandergefaltet und durch zwei mindestens 15 mm voneinander entfernte Nähte miteinander verbunden sein. Diese Nähte müssen entsprechend der diesen Vorschriften beigefügten Zeichnung 1 ausgeführt sein; wenn es jedoch bei gewissen Teilen der Schutzdecke (wie zB bei Überfällen und bei verstärkten Ecken) nicht möglich ist, die Stücke auf diese Weise zusammenzunähen, so genügt es, daß nur der Rand des oberen Teiles umgefaltet und entsprechend der diesen Vorschriften beigefügten Zeichnungen 2 oder 2 a angenäht ist. Die eine Naht, deren Faden sich in der Farbe vom Faden der anderen Naht und von der Schutzdecke deutlich unterscheiden muß, darf nur an der Innenseite sichtbar sein. Alle Nähte müssen mit der Maschine genäht sein.
(4) Besteht die Schutzdecke aus kunststoffbeschichtetem Gewebe und ist sie aus mehreren Stücken zusammengesetzt, so können diese Stücke auch durch Verschweißen entsprechend der diesen Vorschriften beigefügten Zeichnung 3 aneinandergefügt werden. Dabei müssen sich die Ränder der Stücke um mindestens 15 mm überlappen. Sie müssen in der vollen Breite der 15 mm miteinander verschmolzen sein. Auf der Außenseite ist die Überlappkante mit einem mindestens 7 mm breiten Kunststoffband im selben Schweißvorgang zu überdecken. Das Kunststoffband und ein Streifen von mindestens 3 mm zu beiden Seiten diese Bandes sind mit einer gleichförmigen und deutlich sichtbaren Narbung zu versehen. Das Verschweißen muß so ausgeführt sein, daß die Stücke nicht getrennt und danach wieder zusammengefügt werden können, ohne sichtbare Spuren zu hinterlassen.
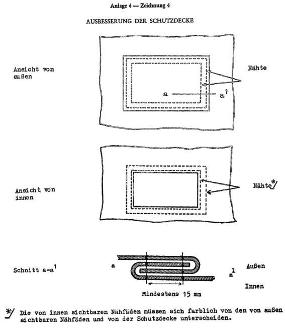
(5) Ausbesserungen sind nach dem in der diesen Vorschriften beigefügten Zeichnung 4 dargestellten Verfahren auszuführen; die Ränder müssen ineinandergefaltet und durch zwei sichtbare, mindestens 15 mm voneinander entfernte Nähte miteinander verbunden sein; die Farbe des auf der Innenseite sichtbaren Fadens muß sich von der Farbe des auf der Außenseite sichtbaren Fadens und von der Farbe der Schutzdecke unterscheiden; alle Nähte müssen mit der Maschine genäht sein. Wenn zur Ausbesserung einer Schutzdecke, die an den Rändern beschädigt ist, an den schadhaften Stellen Flicken eingesetzt werden müssen, so können die Nähte auch nach Absatz 3 entsprechend der diesen Vorschriften beigefügten Zeichnung 1 ausgeführt werden. Ausbesserungen von Schutzdecken aus kunststoffbeschichtetem Gewebe können auch nach dem in Absatz 4 beschriebenen Verfahren ausgeführt werden, doch ist in diesem Fall das Kunststoffband an beiden Seiten der Schutzdecke anzubringen, wobei der Flicken auf der Innenseite der Schutzdecke einzusetzen ist.
- (6) a) Die Schutzdecke muß an dem Behälter so befestigt sein, daß die Bedingungen des Artikels 1 lit. a und b dieser Vorschriften in vollem Umfang erfüllt sind. Zur Befestigung sind zu verwenden
- i) am Behälter befestigte Metallringe,
- ii) in den Rand der Schutzdecke eingelassene Ösen,
- iii) ein Befestigungsmittel, das über der Schutzdecke durch die Ringe führt und in seiner ganzen Länge von außen sichtbar ist.
- Die Schutzdecke muß den festen Teil des Behälters um mindestens 250 mm, von der Mitte der Befestigungsringe an gemessen, überdecken, sofern nicht schon die Art der Konstruktion des Behälters als solche jeden Zugang zu den Waren verhindert.
- b) Wenn der Rand der Schutzdecke auf die Dauer am Behälter befestigt werden soll, muß die Verbindung lückenlos sein und durch eine feste Vorrichtung hergestellt werden.
(7) Der Zwischenraum zwischen den Ringen und zwischen den Ösen darf 200 mm nicht übersteigen. Zwischen den Ringen und den Ösen an jeder Seite des Pfostens kann der Zwischenraum jedoch größer sein – darf aber 300 mm nicht übersteigen –, wenn die Konstruktion des Behälters und der Schutzdecke jeden Zugang zum Inneren des Behälters verhindert. Die Ösen müssen verstärkt sein.
(8) Als Befestigungsmittel sind zu verwenden
- a) Stahldrahtseile von mindestens 3 mm Durchmesser oder
- b) Hanf- oder Sisalseile von mindestens 8 mm Durchmesser, die mit einem durchsichtigen, nicht dehnbaren Kunststoffüberzug versehen sind.
- Drahtseile dürfen mit einem durchsichtigen, nicht dehnbaren Kunststoffüberzug versehen sein.
(9) Jedes Seil muß aus einem einzigen Stück bestehen und an beiden Enden mit einer Zwinge aus hartem Metall versehen sein. Die Befestigungsvorrichtung jeder Zwinge muß eine durch das Seil gehende Hohlniete enthalten, durch die die Zollschnur oder das Band für den Zollverschluß durchgezogen werden kann. Das Seil muß auf beiden Seiten der Hohlniete sichtbar sein, damit festgestellt werden kann, ob es aus einem einzigen Stück besteht (siehe die diesen Vorschriften beigefügte Zeichnung 5).
(10) An den Öffnungen der Schutzdecke, die zum Beladen und Entladen dienen, müssen die beiden Ränder der Schutzdecke einander ausreichend überlappen. Außerdem muß ihr Verschluß gesichert sein durch
- a) einen Überfall, der nach Absatz 3 oder 4 angenäht oder angeschweißt ist;
- b) Ringe und Ösen, die den Bedingungen des Absatzes 7 entsprechen;
- c) einen Riemen aus geeignetem Material, der aus einem einzigen Stück besteht, nicht dehnbar und mindestens 20 mm breit und 3 mm dick ist und der durch die Ringe geführt wird und die beiden Ränder der Schutzdecke und den Überfall zusammenhält; der Riemen muß an der Innenseite der Schutzdecke befestigt und mit einer Öse zur Aufnahme des in Absatz 8 angeführten Seiles versehen sein.
- Ein Überfall ist nicht erforderlich, wenn durch eine Spezialvorrichtung (Sperre usw.) ein Zugang zu den Waren nicht möglich ist, ohne sichtbare Spuren zu hinterlassen.
(11) Die Schutzdecke darf keinesfalls die Aufschrift auf dem Behälter nach Anlage 1 und die Zulassungstafel nach Anlage 5 verdecken.
Übergangsbestimmungen
Bis zum 1. Januar 1977 sind Zwingen, die der diesen Vorschriften beigefügten Zeichnung 5 entsprechen, auch zulässig, wenn es sich bei ihren Hohlnieten um eine früher zulässige Art handelt, deren Öffnung kleiner ist als in dieser Zeichnung angegeben.
Schlagworte
Lüftungsöffnung, Hanfseil
Zuletzt aktualisiert am
13.11.2019
Gesetzesnummer
10004255
Dokumentnummer
NOR12046713
alte Dokumentnummer
N3197726728L
Lizenziert vom RIS (ris.bka.gv.at - CC BY 4.0 DEED)
